Для разборки муфты:
- выверните винты из корпуса и слейте масло:
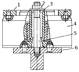
- зажмите в настольные тиски подставку 6 (рис. Разборка муфты) приспособления и установите на нее муфту, вверните в подставку шпильку 5, установите шайбу 3 и затяните гайкой 2;
- ключом 1 отверните корпус 5 (см. рис. Автоматическая муфта опережения впрыскивания топлива);
- снимите ведущую полумуфту 1 с проставками 12, грузы 11, пружины 8;
- выпрессуйте манжеты 4 и 2.
Учитывая, что грузы подобраны по статическому моменту, сохраните их спаренность для последующей установки.

Разборка муфты: 1 — ключ; 2 — гайка; 3 — шайба; 4 — муфта; 5 — шпилька; 6 — подставка.






