При ремонте насоса низкого давления и насоса предпусковой прокачки топлива:
- насос низкого давления и насос предпусковой прокачки топлива замените при наличии трещин на корпусе, изломов, механических повреждений, коррозии, ведущей к потере подвижности сопрягаемых деталей;
- при разборке и сборке насоса низкого давления помните, что поршень и корпус насоса представляют собой точно подобранную пару и раскомплектованию не подлежит.
Разборке и ремонту насос подвергается только в том случае, если он не обеспечивает требуемых характеристик;
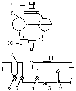
- особое внимание обратите на состояние сборочной единицы шток - втулка насоса низкого давления, так как от величины износа в сопряжении зависит количество перетекаемого топлива в полость кулачкового вала. Зазор в указанном сопряжении не должен превышать 0,012 мм. Величину зазора проверьте, не извлекая втулки из корпуса насоса, определением времени падения давления воздуха с 490 кПа (5 кгс/см2) до 392 кПа (4 кгс/см2) в аккумуляторе объемом 30 см3. Схема установки для замера плотности прецизионной сборочной единицы показана на рисунке.

Схема установки для испытаний пары шток-втулка: 1 — аккумулятор воздушный; 2 — манометр; 3, 4, 5, 6 — краны; 7 — масловлагоотделитель; 8 — корпус насоса; 9 — ограничитель перемещения штока; 10 — соединитель для подвода воздуха к корпусу насоса; I — в атмосферу; II — из системы; III — к насосу.
Установите корпус 8 насоса в приспособление, заполните аккумулятор сжатым воздухом до давления не менее 539 кПа (5,5 кгс/см2), герметично отключите его от магистрали сжатого воздуха и замерьте время, в течение которого произойдет падение в аккумуляторе с 490 кПа (5 кгс/см2) до 392 кПа (4 кгс/см2). Полученное время сравните с аналогичными показаниями плотности эталонной прецизионной пары, имеющей зазор в сопряжении 0,012 мм. Пару замените или отремонтируйте, если плотность у нее меньше эталонной.
Проверку плотности пары можно произвести более простым способом: через зазор между штоком и втулкой пропустите профильтрованное дизельное топливо. Объем топлива, просочившегося через зазор, не должен превышать 1 см3 в течение 20 мин.
Если сборочная единица шток - втулка заменяется, поверхность резьбы и торец в корпусе насоса низкого давления очистите от остатков клея. Новую втулку штока установите в корпус насоса на клее, составленном на основе эпоксидной смолы. Для обеспечения прочности и герметичности соединения очищенные контактирующие поверхности корпуса насоса и втулки предварительно обезжирьте бензином Б-70. После затяжки втулки штока с моментом 9,81 Н. м (1 кгс. м) проверьте легкость перемещения штока в ней. При необходимости уменьшите момент затяжки.
Во время испытания проверьте подачу насоса. Установку для проверки изготовьте по схеме: топливный бак - фильтр грубой очистки топлива - вакуумметр - топливоподкачивающий насос - манометр - мерный резервуар. Элементы схемы соедините прозрачными трубопроводами с внутренним диаметром не менее 8 мм.
Для создания разрежения на входе в насос и противодавления на выходе установите краны. Проверку производите на летнем дизельном топливе при температуре его 25-30°С, в отсутствии воздуха в системе убедитесь по чистоте струи топлива в прозрачных трубопроводах. Насос должен засасывать топливо из бака, установленного на 1 м ниже насоса. Подача насоса при частоте вращения кулачкового вала 1100-1300 мин-1, разрежении у входного штуцера 23 кПа (173 мм рт. ст.) и противодавлении:
- 80-100 кПа (0,8-1,0 кгс/см2) должна быть не менее 3 л/мин для двигателей мод. 740.11 -240 и мод. 740.13-260;
- 125 кПа(1,25 кгс/см2) должна быть не менее 3,5 л/мин для двигателя 740.14-300.
При полностью перекрытом выходном кране и частоте вращения кулачкового вала 1100-1300 мин-1 насос должен создавать давление не менее:
- 400 кПа (4 кгс/см2) - для двигателей мод. 740.11 -240 и 740.13-260;
- 600 кПа (6 кгс/см") - для двигателя 740.14-300.
При полностью перекрытом входном кране и указанной частоте вращения кулачкового вала минимальное разрежение, создаваемое насосом, должно быть:
- 52 кПа (390 мм рт. ст.) - для двигателей мод. 740.11 -240 и 740.13-260;
- 70 кПа (525 мм рт. ст.) - для двигателя 740.14-300;
- насос предпусковой прокачки топлива проверьте на стенде, имеющем схему: топливный бак - фильтр грубой очистки - топливный насос. Насос должен подавать топливо из бака, установленного ниже ручного насоса на 1 м. Проверьте насос на герметичность, подводя воздух под поршень при давлении 200-300 кПа (2-3 кгс/см2) в течение 5-6 с с предварительным смачиванием полости дизельным топливом.






