Для разборки и сборки клапанного механизма:
Для разборки и сборки клапанного механизма приспособлением И801.06.000 (см. рис. Разборка головки цилиндра в приспособлении И801.06.000):
- установите на основание головку блока цилиндров так, чтобы штифты вошли в штифтовые отверстия головки;
- вращая вороток 2, вверните винт 1 и тарелкой 3 отожмите пружины клапанов;
- снимите сухари и втулки;
- выверните винт 1 из траверсы, снимите тарелку и пружины клапанов;
- выньте впускной и выпускной клапаны.

Разборка головки цилиндра в приспособлении И801.06.000: 1 — винт; 2 — вороток; 3 — тарелка; 4 — штифт.
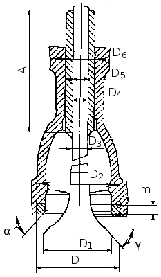
Размеры клапанов приведены в табл. «Клапаны».
Клапаны
| Позиция на рис. | Размеры клапана, мм | |
| впуска | выпуска | |
| А | 75 | 75 |
| В | 5,975...6,025 | 9,464... 9,536 |
| D | 55,15... 55,18 | 50,15...50,18 |
| D1 | 51,30... 51,60 | 46,25...46,50 |
| D2 | 55,00 ... 55,03 | 50,00...50,03 |
| D3 | 9,95... 9,963 | 9,91... 9,93 |
| D4 | 10,000...10,022 | 10,000... 10,022 |
| D5 | 18,029...18,048 | 18,029...18.048 |
| D6 | 17,987...18,013 | 17,987...18,013 |
При сборке клапанного механизма стержни клапанов смажьте дизельным маслом.

Размеры клапанов: А — длина направляющей; В — высота седла; Д — диаметр отверстия под седло; Д1 — диаметр тарелки; Д2 — диаметр седла; Д3 — диаметр стержня; Д4 — внутренний диаметр направляющей; Д5 — наружный диаметр направляющей; Д6 — диаметр отверстия под направляющую; α — угол фаски седла; γ - угол фаски клапана.
Для притирки клапанов:
- разберите клапанный механизм, как описано выше;
- приготовьте пасту из 1,5 частей (по объему) микропорошка карбида кремния зеленого, одной части дизельного масла и 0,5 части дизельного топлива. Перед применением притирочную пасту перемешайте (микропорошок способен осаждаться);
- нанесите на фаску седла клапана тонкий равномерный слой пасты, смажьте стержень клапана моторным маслом. Притирку производите возвратно-вращательным движением клапана дрелью с присоской или приспособлением. Нажимая клапан, поверните его на 1/3 оборота, затем — на 1/4 оборота в обратном направлении. Не притирайте клапаны круговыми движениями. Притирку продолжайте до появления на фасках клапана и седла равномерного матового пояска шириной не менее 1,5 мм (рис. Расположение матового пояска на седле клапана);
- по окончании притирки клапаны и головку цилиндра промойте дизельным топливом и обдуйте воздухом. Соберите клапанный механизм, как указано выше, и определите качество притирки клапанов проверкой на герметичность: установите головку цилиндра поочередно впускными и выпускными окнами вверх и залейте в них дизельное топливо. Хорошо притертые клапаны не должны пропускать его в местах уплотнения в течение 30s. При подтекании топлива постучите резиновым молотком по торцу клапана. Если подтекание не устраняется, клапаны притрите повторно.

Расположение матового пояска на седле клапана: 1 — поясок притертый; I — правильное; II — неправильное.
При необходимости качество притирки проверьте «на карандаш», для чего поперек фаски клапана мягким графитовым карандашом нанесите на равном расстоянии шесть-восемь черточек. Осторожно вставьте клапан в седло и, сильно нажав, проверните на 1/4 оборота, все черточки должны быть стертыми, в противном случае притирку повторите. При правильной притирке матовый поясок на седле головки должен начинаться у большего основания конуса седла, как показано на рис.






