Распределительный вал (рисунок 20) стальной, кулачки и опорные шейки подвергнуты термообработке ТВЧ; устанавливается в развале блока цилиндров на пяти подшипниках скольжения, представляющих собой стальные втулки, залитые антифрикционным сплавом. Диаметр втулок на 6 мм больше по сравнению со втулками двигателя 740.10.

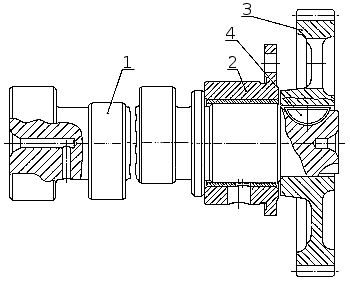
Рисунок 20. Распределительный вал: 1 — распределительный вал; 2 — корпус подшипника; 3 — шестерня; 4 — шпонка.
Распределительный вал увеличенной размерности, измененными фазами газораспределения и ходом клапанов по сравнению с распределительным валом двигателя 740.10. На задний конец распределительного вала напрессована прямозубая шестерня 3. Привод распределительного вала осуществляется от шестерни коленчатого вала через промежуточные шестерни. Для обеспечения заданных фаз газораспределения, шестерни при сборке устанавливаются по меткам выбитым на их торцах (см. рисунок 7).
Шестерни стальные, штампованные с термообработанными зубьями. От осевого перемещения вал фиксируется корпусом 2 (рисунок 20) подшипника задней опоры, который крепится к блоку цилиндров тремя болтами. Посадочный диаметр корпуса подшипника задней опоры больше по сравнению с корпусом подшипника двигателя 740.10.
Установка корпуса подшипника задней опоры двигателя 740.10 недопустима, так как приведет к аварийному снижению давления масла в системе и преждевременному выходу из строя двигателя.






