Коренные и шатунные подшипники (рисунки 10) изготовлены из стальной ленты, покрытой слоем свинцовистой бронзы толщиной 0,3 мм, слоем свинцовооловянистого сплава толщиной 0,022 мм. и слоем олова толщиной 0,003 мм. Верхние 3 и нижние 4 вкладыши коренных подшипников не взаимозаменяемы. В верхнем вкладыше имеется отверстие для подвода масла и канавка для его распределения.

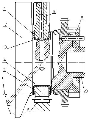
Рисунок 10. Установка упорных полуколец и вкладышей коленчатого вала: 1 — полукольцо упорного подшипника верхнее; 2 — полукольцо упорного подшипника нижнее; 3 — вкладыш подшипника коленчатого вала верхний; 4 — вкладыш подшипника коленчатого вала нижний; 5 — блок цилиндров; 6 — крышка подшипника коленчатого вала задняя; 7 — коленчатый вал; 8 — шестерня привода газораспределительного механизма; 9 — центрирующая шейка коленчатого вала.
Оба вкладыша 4 нижней головки шатуна взаимозаменяемы. От проворачивания и бокового смещения вкладыши фиксируются выступами (усами), входящими в пазы, предусмотренные в постелях блока и шатуна, а также крышках подшипников.
Вкладыши имеют конструктивные отличия, направленные на повышение их работоспособности при форсировке двигателя турбонаддувом, при этом изменена маркировка вкладышей на 7405.1004058 (шатунные), 7405.1005170 и 7405.1005171 (коренные).
Не рекомендуется замена вкладышей при ремонте на серийные с маркировкой 740, так как при этом произойдет существенное сокращение ресурса двигателя.






