Насос масляный откачивающий (рисунок 27) устанавливается на двигатели для автомобилей КамАЗ специального назначения, работающих с углами кренов - продольные вперед и назад до 30° и поперечные до 20°. Установка шестерни привода откачивающего масляного насоса показана на рисунке 2 поз. 18.

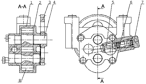
Рисунок 27. Насос масляный откачивающий: 1 — корпус; 2 — крышка; 3 — шестерня ведомая привода; 4 — вал-шестерня ведущая; 5 — клапан; 6 — пружина клапана; 7 — пробка; 8 — ведомая вал-шестерня.
Насос масляный откачивающий закрепляется на пятой коренной опоре коленчатого вала. Момент затяжки болтов крепления масляного насоса, которые одновременно являются креплением крышки коренной опоры, должен быть 275.. .295 Н м (28.. .30 кгс м). Зазор в зацеплении приводных шестерен регулируется также прокладками, устанавливаемыми между корпусом насоса и крышкой, при этом зазор должен быть 0,2.. .0,4 мм.
Откачивающий масляный насос также шестеренный, односекционный. Состоит из корпуса 1, крышки 2, ведущей 4 и ведомой 8 вал-шестерен. В корпусе расположен предохранительный клапан 5, с пружиной 6, отрегулированный на давление срабатывания 600...650 кПа (6...6,5 кгс/см2).






