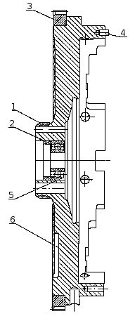
Маховик двигателя КамАЗ 740.30-260 (рисунок 12) закреплен десятью болтами 7 (рисунок 13), изготовленными из легированной стали, на заднем торце коленчатого вала и зафиксирован штифтом 10 (рисунок 13) на центрирующей шейке коленчатого вала 9 (рисунок 10). С целью исключения повреждения поверхности маховика, под головки болтов устанавливается шайба 6 (рисунок 13).
Величина момента затяжки болтов крепления маховика указана в приложении А. На обработанную цилиндрическую поверхность маховика напрессован зубчатый обод 3 (рисунок 12), с которым входит в зацепление шестерня стартера при пуске двигателя. Под манжету уплотнения коленчатого вала устанавливается кольцо 1 с наружной хромированной поверхностью.

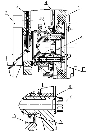
Рисунок 12. Маховик: 1 — кольцо; 2 — втулка дистанционная; 3 — обод зубчатый маховика; 4 — штифт установочный; 5 — подшипник; 6 — выборка под дисбаланс.

Рисунок 13. Установка маховика: 1 — маховик; 2 — блок цилиндров; 3 — коленчатый вал; 4 — картер маховика; 5 — подшипник первичного вала коробки передач; 6 — шайба; 7 — болт; 8 — манжета уплотнения коленчатого вала; 9 — пыльник манжеты; 10 — штифт установочный маховика.
Маховик выполняется под одно или двух дисковое диафрагменные сцепления. Во внутреннюю расточку маховика установлен подшипник 5 первичного вала коробки передач.
При регулировках угла опережения впрыска топлива и тепловых зазоров в клапанах, маховик фиксируется фиксатором (рисунок 14).

Рисунок 14. Положение ручки фиксатора маховика: а) — при эксплуатации; б) — при регулировке, в зацеплении с маховиком.
Конструкция маховика имеет следующие основные отличия от маховиков двигателей 740.10 и 7403.10:
- изменен угол расположения паза под фиксатор на наружной поверхности маховика;
- увеличен диаметр расточки для размещения шайбы под болты крепления маховика;
- введена серповидная выборка для обеспечения требуемого дисбаланса;
- крепление маховика к торцу коленчатого вала осуществляется десятью болтами М16х1,5;
Перечисленные изменения делают невозможной установку маховиков двигателей 740.10 и 7403.10 при проведении ремонтных работ.






