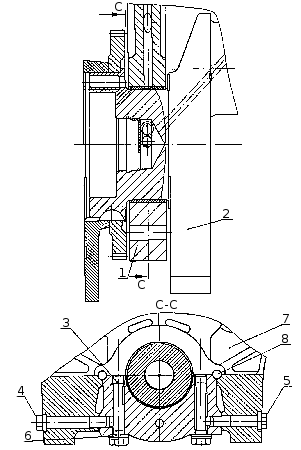
Крышки коренных подшипников (рисунок 11) изготовлены из высокопрочного чугуна. Крепление крышек коренных подшипников осуществляется с помощью вертикальных и горизонтальных стяжных болтов 3, 4, 5, которые затягиваются по определенной схеме с регламентированным моментом (приложение А).

Рисунок 11. Установка крышек подшипников коленчатого вала: 1 — крышка подшипника; 2 — коленчатый вал; 3 — болт крепления крышки; 4 — болт стяжной крепления крышки подшипника левый; 5 — болт стяжной крепления крышки подшипника правый; 6 — шайба; 7 — блок; 8 — штифт.






