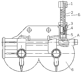
Клапан представлен на рисунке 51. При достижении давления в полости "А" подвода топлива 25...45 кПа (0,25...0,45 кгс/см2), происходит перемещение шарика 4 и перетекание топлива из полости "А" в полость "Б" через жиклер 5 клапана. При давлении 200 ... 240 кПа (2.,.2,4 кгс/см2) обеспечивается полное открытие клапана и перепуск топлива в топливный бак через полость "Б".

Рисунок 51. Клапан: 1 — гайка; 2 — корпус клапана; 3 — пружина; 4 — шарик; 5 — жиклер; 6 — крышка фильтра тонкой очистки топлива






