Картер масляный двигателя КамАЗ 740.30-260 (рисунок 23) 13 штампованный, крепится к блоку цилиндров через резинопробковую прокладку. Момент затяжки болтов крепления масляного картера 14... 17,8 Н м (1,4... 1,8 кгс м).
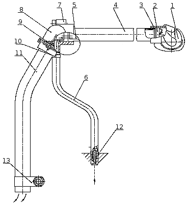
Система вентиляции картера (рисунок 26) открытая, циклонного типа. Картерные газы отводятся из штанговой полости второго цилиндра, через угольник 1, в котором установлен завихритель 2.
При работе двигателя картерные газы проходят через завихритель 2 и получают винтовое движение. За счет действия центробежных сил капли масла, содержащиеся в газах, отбрасываются к стенке трубы 4 и через трубку 6 сливаются обратно в картер. Очищенные картерные газы выбрасываются в атмосферу.

Рисунок 26. Система вентиляции картера двигателя: 1 — угольник; 2 —
завихритель; 3 — уплотнительное кольцо; 4 — труба; 5 — втулка внутренняя; 6 —
труба слива масла; 7 — маслоотделитель; 8 — шланг угловой; 9,10 — хомуты; 11 —
трубка отвода газов;12 — дроссель; 13 — кляммер.
- - -► -моторное
масло
—► - картерные газы






