Двигатели КамАЗ 740.30-260, 740.50-360, 740.51-320
Генератор предназначен для работы по однопроводной схеме электрооборудования. На двигатели КамАЗ 740.30-260, 740.50-360, 740.51-320 может устанавливаться любой генератор исходя из потребности изделия.. Электрическая схема генератора Г 273В показана на рисунке 53.

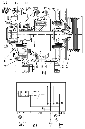
Рисунок 53. Генераторная установка Г 273В: а) — электрическая схема; б) — разрез; в) — переключение напряжения «лето» - «зима»; 1 — шкив; 2 — вентилятор; 3 — крышка со стороны привода; 4 — статор; 5 — ротор; 6 — вал ротора; 7 — выпрямительный блок; 8 — крышка со стороны контактных колец; 9 — контактное кольцо; 10 — крышка подшипника; 11 — подпиточный резистор; 12 — регулятор напряжения; 13 — щеткодержатель; 14 — переключатель посезонной регулировки.
На генераторе имеются следующие выводы:
- «+»- подключения аккумуляторной батареи и нагрузки;
- В- для соединения с выводом ВК выключателя приборов и стартера;
- «-» подключения к массе силовой установи;
- штекер на корпусе для вывода фазы.
На регуляторе напряжения, встроенном в щеткодержатель генератора, установлен переключатель сезонной регулировки.
Уровень регулируемого напряжения генератора в положении переключателя Л (лето) при силе тока нагрузки 20 А, частоте вращения коленчатого вала двигателя (1450+100) мин-1, температуре окружающей среды (25+10) °С и включенной аккумуляторной батарее должен находиться в пределах 27...28 В, в положении З (зима)- 28,8...30,2 В.
На двигателе может быть установлен генератор 6582.3701, ТУ 37.003.1365-88.

Рисунок 53-1. Генераторная установка 3122.3771: а) — электрическая схема; б) разрез; 1 — шкив; 2 — вентилятор; 3, 8 — крышки; 4 — статор; 5 — ротор; 6 — вал ротора; 7 — выпрямительный блок; 9 — контактное кольцо; 10 — крышка подшипника; 11 — подпиточный резистор; 12 — регулятор напряжения; 13 — щеткодержатель; С — конденсатор 2,2мкФ.
Внимание!
- Нельзя подсоединять и отсоединять штепсельные разъемы и плюсовой вывод генераторной установки при работающем двигателе и включенных аккумуляторных батареях, а также пускать двигатель при отсоединенном плюсовом проводе генератора.
- Не следует проверять исправность генераторной установки, замыкая выводы «+», «В» и «-» перемычками на массу и между собой.
- Не соединять клемму «Ш» щеткодержателя, доступ к которой открыт через окно в кожухе щеткодержателя, с выводами «+» и «В» генератора. Это ведет к выходу из строя регулятора.
- Нельзя проверять исправность схемы электрооборудования и отдельные провода мегомметром или лампой, на которую подается напряжение выше 26 В, при неотключенном генераторе.
- Не следует проверять выпрямительный блок от источника постоянного тока напряжением более 24 В, от источника переменного тока, а также без сигнализатора, включенного последовательно с выпрямительным блоком.
- Во избежание выхода из строя регулятора напряжения при подзарядке аккумуляторных батарей от внешнего источника необходимо отключить батареи от сети.
- При мойке двигателя рекомендуется защищать генератор от попадания воды.






