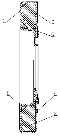
Гаситель крутильных колебаний (рисунок 15) закреплен восемью болтами 2 (рисунок 16) на переднем носке коленчатого вала. Гаситель состоит из корпуса 1 (рисунок 15) в который установлен с зазором маховик гасителя 2. Снаружи корпус гасителя закрыт крышкой 3. Герметичность обеспечивается сваркой по стыку корпуса гасителя и крышки. Между корпусом гасителя и маховиком гасителя находится высоковязкая силиконовая жидкость, дозировано заправленная перед заваркой крышки. Центровка гасителя осуществляется шайбой 6, приваренной к корпусу.

Рисунок 15. Гаситель крутильных колебаний коленчатого вала: 1 — корпус гасителя; 2 — маховик гасителя; 3 — крышка; 4 — пробка заправочного отверстия; 5 — высоковязкостная силиконовая жидкость; 6 — центровочная шайба.

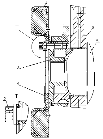
Рисунок 16. Установка гасителя крутильных колебаний: 1 — гаситель; 2 — болт крепления гасителя; 3 — полумуфта отбора мощности; 4 — шайба; 5 — коленчатый вал; 6 — блок цилиндров.
Гашение крутильных колебаний коленчатого вала происходит путем торможения корпуса гасителя, закрепленного на носке коленчатого вала, относительно маховика в среде силиконовой жидкости. При этом энергия торможения выделяется в виде теплоты.
Категорически запрещается при проведении ремонтных работ деформировать корпус и крышку гасителя. Гаситель с деформированным корпусом или крышкой к дальнейшей эксплуатации не пригоден.
После установки гасителя проверить наличие зазора между гасителем и
противовесом.






