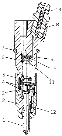
Форсунка модели 273-20 или 273-50 (см. таблицу 1) закрытой конструкции, с пятью распыливающими отверстиями и гидравлическим управлением подъема иглы распылителя показана на рисунке 38. Все детали форсунки собраны в корпусе 6. К нижнему торцу корпуса форсунки гайкой 2 через проставку 3 прижат корпус 1 распылителя, внутри которого находится игла 12. Корпус и игла распылителя составляют прецизионную пару.
Угловая фиксация корпуса распылителя относительно проставки и проставки относительно корпуса форсунки осуществлена штифтами 4. На верхний конец иглы распылителя через штангу 5 оказывает давление пружина 11, Необходимое натяжение этой пружины осуществляется набором регулировочных шайб 9, 10, устанавливаемых между пружиной и торцом внутренней полости корпуса форсунки.

Рисунок 38. Форсунка: 1 — корпус распылителя; 2 — гайка распылителя; 3 — проставка; 4 — щтифты; 5 — штанга форсунки; 6 — корпус форсунки; 7 — уплотнительное кольцо; 8 — штуцер форсунки; 9, 10 — регулировочные шайбы; 11 — пружина форсунки; 12 — игла распылителя; 13 — щелевой фильтр.
Топливо к форсунке подается под высоким давлением через штуцер 8 со встроенным в него щелевым фильтром 13, далее по каналам корпуса 6, проставки 3 и корпуса распылителя 1 - в полость между корпусом распылителя и иглой 12 и, поднимая её, впрыскивается в цилиндр двигателя.
Просочившееся через зазор между иглой и корпусом распылителя топливо отводится по каналам в корпусе форсунки и сливается в бак через дренажные трубки 9 и 11, показанные на рисунке 37. Форсунка установлена в головке цилиндра, зафиксирована скобами, которые закреплены гайкой. Торец гайки распылителя уплотнен от прорыва газов гофрированной медной прокладкой. Уплотнительное кольцо 7 (рисунок 38) исключает попадание пыли и жидкостей в полость между форсункой и головкой цилиндра.
Внимание!
Проверку и регулировку форсунок, а также замену распылителей необходимо проводить в специализированной мастерской.
Категорически запрещается установка форсунок других моделей.






