Форсунки охлаждения (рисунок 6) устанавливаются в картерной части блока цилиндров и обеспечивают подачу масла из главной масляной магистрали, при достижении в ней давления 80... 120 кПа (0,8... 1,2 кг/см2), на внутреннюю полость поршней. На такое давление отрегулирован клапан, расположенный в каждой из форсунок.

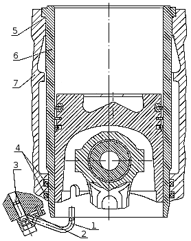
Рисунок 6. Установка гильзы цилиндра и уплотнительных колец: 1 — трубка форсунки; 2 — корпус форсунки охлаждения поршня; 3 — корпус клапана; 4 — кольцо уплотнительное гильзы нижнее; 5 — кольцо уплотнительное верхнее; 6 — гильза цилиндра; 7 — блок цилиндров.
При сборке двигателя необходимо контролировать правильность
положения трубки форсунки относительно гильзы цилиндра и
поршня. Контакт с поршнем недопустим.






