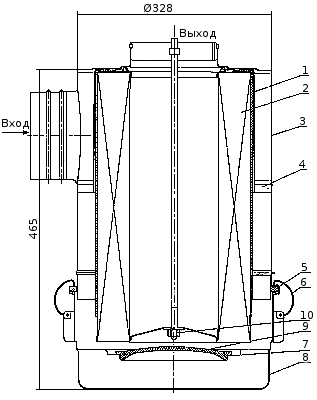
Фильтр воздушный (рисунок 27) сухого типа, двухступенчатый, предназначен для очистки поступающего в двигатель воздуха от пыли. Он состоит из корпуса 3 с завихрителем 4, крышки 8, предочистителя 1, фильтрующего элемента 2. Герметичность соединения крышки с корпусом обеспечивает уплотнительное кольцо 5. Крышка крепится к корпусу четырьмя пружинными защелками 6. Основные детали фильтра изготовлены из листовой стали толщиной 1,2 мм. Для повышения эффективности очистки воздуха, поступающего в двигатель, на фильтрующий элемент надевается предочиститель 1 - оболочка из нетканого фильтровального полотна.

Рисунок 27. Фильтр воздушный: 1 — предочиститель; 2 — элемент фильтрующий; 3 — корпус; 4 — завихритель; 5 — уплотнительное кольцо; 6 — защелка; 7 — перегородка бункера; 8 — крышка; 9 — заглушка; 10 — гайка.
Очистка воздуха в фильтре двухступенчатая.
Первая ступень очистки - моноциклон, содержащий завихритель 4 установленный за входным патрубком и обеспечивающий винтовое движение воздушного потока в кольцевом зазоре между корпусом фильтра и элементом 2. За счет действия центробежных сил частицы пыли отбрасываются к стенке корпуса и сгоняются в бункер. Пылесборный бункер образован крышкой 8, перегородкой 7 и съемной заглушкой 9.
Вторая ступень очистки - элемент фильтрующий 2, который имеет наружный и внутренний кожухи. Они изготовлены из перфорированного стального листа и гофрированной фильтровальной бумаги, соединенных по торцам металлическими крышками, которые приклеены специальным клеем.
Фильтрующий элемент пглотно прижат к днищу корпуса 3 и уплотняется торцовым резиновым кольцом. Крепится фильтрующий элемент в корпусе самостопорящейся гайкой 10.
Предварительно очищенный в первой ступени воздух поступает во вторую ступень со сменным картонным фильтрующим элементом для более тонкой очистки, где, проникая через поры картона, оставляет на его поверхности мелкие частицы пыли. Очищенный воздух через тройник поступает к двум центробежным компрессорам и, под избыточным давлением, через трубу охладителя наддувочного воздуха в цилиндры двигателя.
В системе питания двигателя воздухом предусмотрена установка индикатора засоренности фильтрующего элемента. Если срабатывает индикатор засоренности то необходимо провести обслуживание или замену фильтроэлемента воздушного фильтра.






