Фильтр масляный (рисунок 25) закреплен на правой стороне блока цилиндров, состоит из корпуса 1, двух колпаков 9 и 11, в которых установлены полнопоточный 8 и частично-поточный 4 фильтроэлементы.

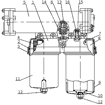
Рисунок 25. Фильтр масляный с теплообменником: 1 — корпус фильтра; 2, 3 — уплотнительные кольца; 4 — частично-поточный фильтрующий элемент; 5 — теплообменник; 6 — термосиловой датчик; 7 — прокладка; 8 — полнопоточный фильтрующий элемент; 9, 11 — колпаки; 12 — сливная пробка; 13 — поршень термоклапана; 14 — пружина термоклапана; 15 — перепускной клапан; 16 — пружина перепускного клапана.
Колпаки на резьбе вворачиваются в корпус. Уплотнение колпаков в корпусе осуществляются кольцами 2 и 3.
В корпусе фильтра также расположен перепускной клапан 15 и термоклапан включения водомасляного теплообменника. Очистка масла в фильтре комбинированная. Через полнопоточный фильтроэлемент 8 проходит основной поток масла перед поступлением к потребителям, тонкость очистки масла от примесей, при этом, составляет 40 мкм.
Через частично-поточный фильтроэлемент 4 проходит 3...5 л/мин, где удаляются примеси размерами более 5 мкм. Из частично-поточного элемента масло сливается в картер. При такой схеме достигается высокая степень очистки масла от примесей.
Термоклапан (рисунок 25) включения водомасляного теплообменника состоит из подпружиненного поршня 13 с термосиловым датчиком 6. При температуре ниже 95 °С поршень 13 находится в верхнем положении и основная часть потока масла, минуя теплообменник, поступает в двигатель. При достижении температуры масла омывающего термосиловой датчик 6 (95+2) °С, активная масса, находящаяся в баллоне, начинает плавиться и, увеличиваясь в объеме, перемещает шток датчика и поршень 13.
При температуре масла (110+2) °С поршень 13 разобщает полости в фильтре до и после теплообменника и весь поток масла идет через теплообменник.
При превышении температуры масла выше 115 °С срабатывает датчик температуры и на щитке приборов загорится сигнальная лампочка.
Водомасляный теплообменник 5 (рисунок 25) установлен на масляном фильтре, кожухотрубного типа, сборный. Внутри трубок проходит охлаждающая жидкость из системы охлаждения двигателя, снаружи - масло. Со стороны масла трубки имеют оребрение в виде охлаждающих пластин. Поток масла в теплообменнике четыре раза пересекает трубки с водой, чем достигается высокая эффективность охлаждения масла.






