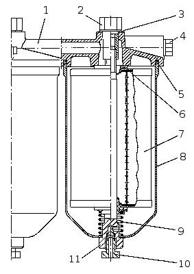
Фильтр тонкой очистки топлива показан на рисунке 45. Он предназначен для окончательной очистки топлива от мелких частиц перед поступлением в ТНВД. Фильтр установлен в самой высокой точке системы питания топливом для сбора и удаления в бак воздуха вместе с частью топлива через клапан (рисунок 46), установленный на перепуске из фильтра.

Рисунок 45. Фильтр тонкой очистки топлива: 1 — крышка; 2 — болт; 3 — уплотнительная шайба; 4 — пробка; 5, 6 — прокладки; 7 — фильтрующий элемент; 8 — колпак; 9 — пружина фильтрующего элемента; 10 — пробка сливного отверстия; 11 — стержень.
Внимание!
При замене фильтрующих элементов необходимо строго соблюдать правила обслуживания системы питания топливом. Не допускайте попадания загрязнений в систему и применяйте фильтрующие элементы только следующих моделей 740.1117040-01, 740.1117040-02, 740.1117040-04.
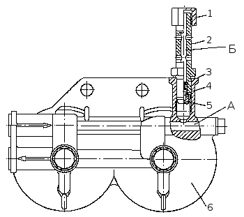
Клапан представлен на рисунке 46. При достижении давления в полости "А" подвода топлива 25...45 кПа (0,25...0,45 кгс/см2), происходит перемещение шарика 4 и перетекание топлива из полости "А" в полость "Б" через жиклер 5 клапана.

Рисунок 46. Клапан: 1 — гайка; 2 — корпус клапана; 3 — пружина; 4 — шарик; 5 — жиклер; 6 — крышка фильтра тонкой очистки топлива.






