Фильтр тонкой очистки топлива показан на рисунке 50. Он предназначен для окончательной очистки топлива от мелких частиц перед поступлением в ТНВД. Фильтр установлен в самой высокой точке системы питания топливом для сбора и удаления в бак воздуха вместе с частью топлива через клапан (рисунок 51), установленный на перепуске из фильтра.

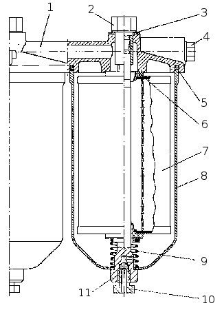
Рисунок 50. Фильтр тонкой очистки топлива: 1 — крышка; 2 — болт; 3 — уплотнительная шайба; 4 — пробка: 5, 6 — прокладки; 7 — фильтрующий элемент; 8 — колпак; 9 — пружина фильтрующего элемента; 10 — пробка сливного отверстия; 11 — стержень.
Внимание!
При замене фильтрующих элементов необходимо строго соблюдать правила обслуживания системы питания топливом. Не допускайте попадания загрязнений в систему и применяйте фильтрующие элементы только следующих моделей 740.1117040-01, 740.1117040-02, 740.1117040-04.






