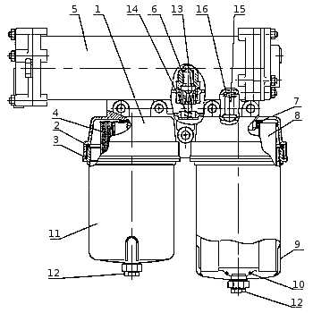
Масляный фильтр (см. рис.) закреплен на правой стороне блока цилиндров и состоит из корпуса 1, двух колпаков 9 и 11, в которых установлены полнопоточный 8 и частично-поточный 4 фильтроэлементы.

Фильтр масляный с теплообменником: 1 — корпус фильтра; 2, 3 — уплотнительные кольца; 4 — частично-поточный фильтрующий элемент; 5 — теплообменник; 6 — термосиловой датчик; 7 — прокладка; 8 — полнопоточный фильтрующий элемент; 9, 11 — колпаки; 12 — сливная пробка; 13 — поршень термоклапана; 14 — пружина термоклапана; 15 — перепускной клапан; 16 — пружина перепускного клапана.
Колпаки на резьбе вворачиваются в корпус. Уплотнение колпаков в корпусе осуществляются кольцами 2 и 3.
В корпусе фильтра также расположен перепускной клапан 15 и термоклапан включения водомасляного теплообменника. Очистка масла в фильтре комбинированная. Через полнопоточный фильтроэлемент 8 проходит основной поток масла перед поступлением к потребителям, тонкость очистки масла от примесей при этом составляет 40 мкм. Через частично - поточный фильтроэлемент 4 проходит 3-5 л/мин, где удаляются примеси размерами более 5 мкм. Из частично-поточного элемента масло сливается в картер.
При такой схеме достигается высокая степень очистки масла от примесей.






