Расширительный бачок 1 (рисунок 30) установлен на двигателе автомобилей КАМАЗ с правой стороны по ходу автомобиля. Расширительный бачок соединен перепускной трубой 19 с входной полостью водяного насоса 13, пароотводящей трубкой 2 с верхним бачком радиатора и с трубкой отвода жидкости из компрессора 3.
Расширительный бачок служит для компенсации изменения объема охлаждающей жидкости при ее расширении от нагрева, а также позволяет контролировать степень заполнения системы охлаждения и способствует удалению из нее воздуха и пара.
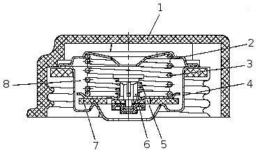
Расширительный бачок изготовлен из полупрозрачного сополимера пропилена. На горловину бачка навинчивается пробка расширительного бачка (рисунок 35) с клапанами впускным 6 (воздушным) и выпускным (паровым). Выпускной и впускной клапаны объединены в блок клапанов 8. Блок клапанов неразборный. Выпускной клапан, нагруженный пружиной 3, поддерживает в системе охлаждения избыточное давление 65 кПа (0,65 кгс/см2), впускной клапан 6, нагруженный более слабой пружиной 5, препятствует созданию в системе разряжения при остывании двигателя.

Рисунок 35. Пробка расширительного бачка: 1 — корпус пробки; 2 — тарелка пружины выпускного клапана; 3 — пружина выпускного клапана; 4 — седло выпускного клапана; 5 — пружина клапана впускного; 6 — клапан впускной в сборе; 7 — прокладка выпускного клапана; 8 — блок клапанов.
Впускной клапан открывается и сообщает систему охлаждения с окружающей средой при разряжении в системе охлаждения 1...13 кПа (0,01...0,13 кгс/см2).
Заправка двигателя охлаждающей жидкостью производится через заливную горловину расширительного бачка. Перед заполнением системы охлаждения надо предварительно открыть кран системы отопления.
Для слива охлаждающей жидкости следует открыть сливные краны теплообменника и насосного агрегата предпускового подогревателя, отвернуть пробки на нижнем бачке радиатора и расширительного бачка.
Внимание!
Не допускается открывать пробку расширительного бачка на горячем двигателе, так как при этом может произойти выброс горячей охлаждающей жидкости и пара из горловины расширительного бачка.
Эксплуатация автомобиля без пробки расширительного бачка не допускается.






