Расширительный бачок 1 (рисунок 30) установлен на двигателе автомобилей КАМАЗ 740.30-260 с правой стороны по ходу автомобиля. Расширительный бачок соединен перепускной трубой 19 с входной полостью водяного насоса 13, пароотводящей трубкой 2 с верхним бачком радиатора и с трубкой отвода жидкости из компрессора 3.
Расширительный бачок служит для компенсации изменения объема охлаждающей жидкости (ОЖ) при ее расширении от нагрева, а также позволяет контролировать степень заполнения системы охлаждения и способствует удалению из нее воздуха и пара.
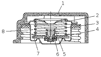
Расширительный бачок изготовлен из полупрозрачного сополимера пропилена. На горловину бачка навинчивается пробка расширительного бачка (рисунок 35) с клапанами впускным 6 (воздушным) и выпускным (паровым). Выпускной и впускной клапаны объединены в блок клапанов 8. Блок клапанов неразборный. Выпускной клапан, нагруженный пружиной 3, поддерживает в системе охлаждения избыточное давление 65 кПа (0,65 кгс/см ), впускной клапан 6, нагруженный более слабой пружиной 5, препятствует созданию в системе разряжения при остывании двигателя.

Рисунок 35. Пробка расширительного бачка: 1 — корпус пробки; 2 — тарелка пружины выпускного клапана; 3 — пружина выпускного клапана; 4 — седло выпускного клапана; 5 — пружина клапана впускного; 6 — клапан впускной в сборе; 7 — прокладка выпускного клапана; 8 — блок клапанов.
Впускной клапан открывается и сообщает систему охлаждения с окружающей средой при разряжении в системе охлаждения 1...13 кПа (0,01...0,13 кгс/см2).
Заправка двигателя ОЖ производится через заливную горловину расширительного бачка. Перед заполнением системы охлаждения надо предварительно открыть кран системы отопления.
Для слива ОЖ следует открыть сливные краны нижнего колена водяного трубопровода, теплообменника и насосного агрегата предпускового подогревателя, и отвернуть пробку расширительного бачка.
Внимание! Не допускается открывать пробку расширительного бачка на горячем двигателе, так как при этом может произойти выброс горячей ОЖ и пара из горловины расширительного бачка.
Эксплуатация автомобиля без пробки расширительного бачка не допускается.






