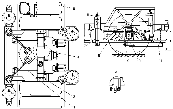
Задняя подвеска (см. Рисунок 140 — Задняя подвеска) — на четырех пневматических баллонах 11, четырех амортизаторах 7 и с двумя регуляторами положения кузова.

Рисунок 140 —
Задняя подвеска
1 — нижняя штанга 2 — накладка; 3 — верхняя штанга; 4 —
задний мост; 5 — колесо; 6 — подушка; 7 — амортизатор; 8 — рама пневмобаллонов;
9 — стремянка; 10 — штифт; 11 — пневмобаллон; Б = (265-285) мм — высота
пневмобаллона
Задний мост крепится снизу двумя продольными реактивными штангами 1, сверху — двумя наклонными реактивными штангами 3 с резинометаллическими шарнирами.






