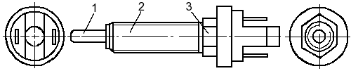
Выключатель сигнала торможения (см. рисунок) предназначен для замыкания цепи сигнализатора при торможении.
При нажатии на тормозную педаль перемещается подпружиненный наконечник 1 выключателя, замыкая контакты электрической цепи, и при этом включаются фонари стоп-сигнала, свидетельствующие о торможении автобуса Нефаз.

Рисунок 175 — Выключатель сигнала торможения
1 — наконечник; 2 —
корпус выключателя; 3 — стопорная гайка






