Задний мост Мадара — ведущий, двухступенчатый, имеет центральный конический редуктор и цилиндрические колесные (бортовые) передачи в ступицах задних колес.
Центральный редуктор — одноступенчатый, состоит из конических шестерен (главная передача) и межколесного конического дифференциала.
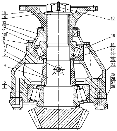
Ведущая шестерня главной передачи 5 (Рисунок 236) посажена в стакане подшипников 6 на двух конических роликоподшипниках 16 и 24.

Рисунок 236 — Ведущая шестерня главной передачи
1 — шайба пружинная;
2, 11 — болты; 4 — втулка распорная; 5 — шестерня коническая ведущая; 6 — стакан
подшипников; 7 — кольцо; 8 — винт; 9 — прокладка; 10 — шайба пружинная; 12 —
крышка уплотнителя; 13 — манжета; 14 — гайка; 15 — фланец; 16, 24 — подшипники;
18 — шплинт; 19 - 23; 25 - 28 — прокладки регулировочные
На шлицах ведущей шестерни установлен фланец карданного вала 15. Регулирование натяга конических роликоподшипников осуществляется с помощью регулировочных прокладок 19 - 23, а регулировка зацепления зубьев конической пары — с помощью регулировочных прокладок 25 - 28. Установка конических подшипников в стакане позволяет осуществить регулировку самих подшипников с предварительным натягом, а затем регулировку зацепления за счет перемещения стакана с подшипниками. Коническая пара шестерен главной передачи при заводской сборке проходит предварительный подбор (спаривание). В случае необходимости замены одной из них менять нужно обе шестерни комплектно.
Дифференциальный механизм в главной передаче выполнен в виде конических шестерен. Две конические шестерни полуосей 40 и 51 (Рисунок 237) расположены в чашках 34 и 39 дифференциала, а четыре сателлита 38 находятся на двух взаимно перпендикулярных осях 50 дифференциала.

Рисунок 237 — Дифференциал
29 — балка; 30 — полуось левая; 31 — кольцо
опорное; 32 — картер главной передачи; 33, 45, 47, 52, 53, 56, 71 — болты; 34 —
чашка дифференциала левая; 35 — шестерня коническая ведомая; 36 — втулка
сателлитов; 37 — шайба опорная сателлитов; 38 — сателлит дифференциала; 39 —
чашка дифференциала правая; 40 — шестерня полуоси правая; 41, 42 — шайбы
опорные; 43 — втулка шестерни полуоси; 44 — подшипник; 46, 48, 57, 67 — шайбы
пружинные; 49 — полуось правая; 50 — ось сателлитов; 51 — шестерня полуоси
левая; 54 — крышка; 55 — пластина стопорная; 58 — пробка магнитная; 59, 65 —
кольца; 60 — пробка; 61 — муфта блокировки дифференциала; 62 — вилка блокировки
дифференциала; 63 — «о» - кольцо; 64 — кнопочный выключатель; 66 — гайка; 68 —
надставка цилиндра блокировки; 69 — уплотнитель; 70 — шайба; 72 — втулка; 73 —
пружина; 74 — поршень; 75 — манжета; 76 — цилиндр блокировки
дифференциала
Конические шестерни полуосей не взаимозаменяемы, т. к. в правой шестерне 40 предусмотрены отверстия, в которые входят штифты муфты 61 блокировки дифференциала. Блокировка управляется пневматическим цилиндром с возвратной пружиной. Отверстия под оси дифференциала обрабатываются при собранном комплекте чашек. Поэтому чашки могут меняться только комплектом. В отверстия сателлитов запрессованы втулки 36, выполненные свернутыми из ленты. На левой чашке дифференциала смонтирована ведомая шестерня главной передачи 35. Дифференциал в сборе устанавливается в картере главной передачи 32 на конических подшипниках 44, закрепленных опорными кольцами (гайками) 31, служащими для регулировки подшипников и зацепления конической пары.
Гайки стопорятся пластинами 55. Картер главной передачи устанавливается в балке 29. Балка — стальная отливка с площадками для рессор и кронштейны реактивной штанги. Для предотвращения повышения давления в результате нагрева масла в балке имеется сапун.
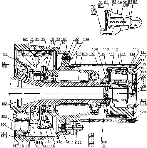
Полуоси левая 30 и правая 49 — полностью разгруженного типа. Правая полуось длиннее левой. Колесный редуктор (Рисунок 239) заднего моста планетарного типа и устанавливается в ступицах задних колес с картером колесного редуктора.
Ступицы колес 105 — стальные отливки, соединенные с картером колесных редукторов с винтом 102. К этому узлу с помощью болта 103 закрепляется держатель сателлитных колес (водило) 118. В держателях сателлитных колес 118 запрессованы оси сателлитов, на которых на игольчатых роликах 113 поставлены сателлиты 114. На одну ось сателлита устанавливаются подшипники, имеющие одинаковый класс допусков. На полуоси установлены ведущие шестерни колесного редуктора 121. Опорное колесо редуктора 111 свободно установлено на соединителе 108, который поставлен на шлицы цапфы 147 и закрепляется гайкой с прорезями 109.
Колесный редуктор закрывается крышкой 120, на которой имеется маслозаливное отверстие, закрываемое пробкой 123 и отверстие для слива масла из колесного редуктора, закрываемое отмеченым болтом 129. В крышке запрессован штифт 126, на который ставится опора 125, с помощью которой регулируется аксиальный зазор полуоси.
Тормоз барабанного типа, с двумя внутренними литыми колодками 85 и 86, расположенными на отдельных пальцах 84. Тормозной механизм включает суппорты 83, которые крепятся болтами 77 к балке. Тормозные накладки 95 к колодкам тормоза крепятся заклепками 96. Тормозной механизм защищен от попадания масла из ступицы колес (при возможном повреждении манжеты 140) маслособирательным кольцом 97, 98 со сливной трубкой. Против грязи механизм закрыт щитом 148.
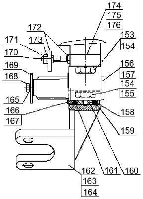
На шлицевом конце разжимных кулаков 156 и 157 (Рисунок 238) установляется автоматические регулировочные рычаги, соединенные с тормозной камерой.

Рисунок 238 —
Рычаги разжимных кулаков
153, 155, 168 — болты; 154, 165 — шайбы пружинные;
156 — кулак разжимной левый; 157 — кулак разжимной правый; 158 — кольцо
стопорное; 159 — крышка; 160 — втулка; 161 — «о» - кольцо; 162 — кронштейн
тормозного цилиндра левый; 163 — кронштейн тормозного цилиндра правый; 164 —
пресс-масленка; 166, 167 — уплотнители; 169 — прокладка; 170 — шпилька; 171, 172
— гайки; 173 — шайба; 174 - 176 — шайбы быстросъемные

Рисунок 239 — Тормозной механизм и колесный редуктор
77, 80, 93, 103,
117, 127 — болты; 78, 136 — гайки; 79, 81, 94, 128 — шайбы пружинные; 82 —
пресс-масленка; 83 — носач; 84 — палец тормозных колодок; 85 — колодка верхняя;
86 — колодка нижняя; 87 — планка соединительная; 88, 99, 122, 151 — кольца
стопорные; 89, 90 — втулки резиновые; 91 — скоба; 92 — консола; 95 — накладка;
96 — нит; 97, 98 — кольца маслособирательные; 100 — подшипник; 101 — барабан;
102, 110 — винты; 104, 116, 139 — «о» - кольца; 105 — ступица; 106 — втулка; 107
— картер колесного редуктора; 108 — соединитель; 109 — гайка с прорезями; 111 —
колесо опорное; 112 — втулка распорная; 113 — игла; 114 — сателлит; 115 — шайба
опорная сателлитов; 118 — держатель сателлитных колес; 119 — ось сателлитов; 120
— крышка; 121 — ведущая шестерня; 123 — пробка магнитная; 124 — кольцо; 125 —
опора; 126 — штифт; 129 — болт отмеченый; 130 — спираль левая; 131 — спираль
правая; 132 - 135 — прокладки регулировочные; 137 — болт барабанный; 138, 140 —
уплотнители; 141 — пружина тормозных колодок; 142 — ось ролика; 143 — ролик для
колодки; 144 — шайба; 145 — уплотнитель; 146 — ролик игольчатый; 147 — рукав;
148 — щит; 149 — заглушка; 150 — кольцо опорное; 152 — шайба
направляющая
Разжимные кулаки установлены в суппортах колесных тормозов на игольчатых подшипниках 113 (Рисунок 239) и в кронштейнах тормозных камер 162 и 163 (Рисунок 238) на втулках 160.
|
Максимальная нагрузка на ось, кг |
11500 |
|
Максимальный крутящий момент двигателя, Н.м |
1250 |
|
Максимальный допустимый момент разжимного кулака, Н.м |
1830 |
|
Колесная система для установки |
дисковые |
|
Передаточные числа: |
|
|
главная передача |
1,52 (35/23) |
|
колесные редукторы |
3,33 (56/24) + 1 |
|
общее: |
5,08 |
|
Диаметр тормозного барабана, мм |
420 |
|
Ширина тормозных накладок, мм |
180 |
|
Колея, мм |
1836 |
|
Максимальная ширина, мм |
2425 |
|
Расстояние между осями рессорных площадок, мм |
1060 |
|
Внутреннее расстояние между тормозными барабанами, мм |
1232 |
|
Расстояние между кронштейнами реактивных штанг, мм |
600 |
|
Расстояние от оси моста до плоскости фланца карданного вала, мм |
400 |
|
Расстояние от оси моста до верхней части балки у главной передачи, мм |
190 |
|
Осевое смещение фланца карданного вала относительно оси |
70 |
|
Межосевое расстояние площадок для крепления тормозных цилиндров, мм |
570 |
|
Наклон рессорных площадок и кронштейнов реактивных штанг |
4° |
|
Масса моста без тормозных цилиндров, колеса, масла и упаковки, кг |
800 |






