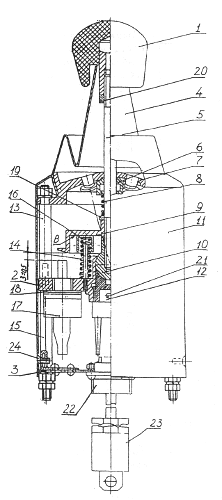
Рычаг управления коробкой передач (РУКП) (см. Рисунок 329) предназначен для формирования команд на включение передач в коробке передач и имеет положение нейтрали и 6 фиксированных положений включенной передачи.

Рисунок 329 — Рычаг управления коробкой передач
1 — рукоятка; 2 —
фланец; 3 — дно; 4 — чехол; 5 — ось; 6 — фиксатор; 7 — крышка; 8 — пружина; 9 —
фланец; 10 — опора шаровая; 11 — кожух; 12 — пята; 13 — колонка; 14 — пружина;
15 — колонка; 16 — колпачок; 17 — выключатель ВК 415; 18 — шайба регулировочная;
19 — шайба; 20 — гайка; 21 — шплинт; 22 — разъем соединительный; 23 — реле
резервного режима; 24 — винт
Команда на включение той или иной передачи формируется при перемещении рукоятки РУКП 1 (срабатывании концевых выключателей 17).
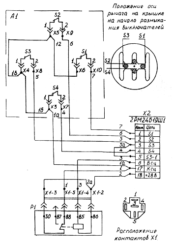
Концевые выключатели 81, 82, 83, 84 (см. Рисунок 330) в исходном положении (рукоятка 1 РУКП расположена по центру) замкнуты и обесточены (электропитание на РУКП отсутствует).

Рисунок 330 — Схема электрическая соединений РУКП
При срабатывании датчика состояния сцепления Всц (см. Рисунок 323) после нажатия на педаль сцепления на концевые выключатели РУКП подается напряжение, которые в свою очередь (будучи в замкнутом состоянии) включают все ЭПК, и во все пневмоцилиндры ИМКП и механизма блокировки подается воздух. Включение передач происходит при размыкании соответствующих выключателей (при перемещении рукоятки РУКП), т. е. при сбросе воздуха с соответствующих пневмоцилиндров ИМКП (снятии напряжения с соответствующих ЭПК). Состояния концевых выключателей 81...84 при включении передач для различных моделей коробок передач приведены в Таблице 49.
Таблица 49
|
Номера включенных передач |
Состояние концевых выключателей | |||||||||||
|
КП КамАЗ-14 |
КП КамАЗ-141 |
КП ЯМЗ-236 | ||||||||||
|
S1 |
S2 |
S3 |
S4 |
S1 |
S2 |
S3 |
S4 |
S1 |
S2 |
S3 |
S4 | |
|
Нейтраль выбран шток 2/3 передач выбран шток 4/5 передач выбран шток 1/R передач |
X - X |
X X X |
X X - |
X X X |
X - X |
X X X |
X X - |
X X X |
X - X |
X X X |
X X - |
X X X |
|
Задний ход |
X |
X |
- |
- |
X |
X |
- |
- |
X |
- |
- |
X |
|
Первая |
X |
- |
- |
X |
X |
- |
- |
X |
X |
X |
- |
- |
|
Вторая |
X |
- |
X |
X |
X |
- |
X |
X |
X |
- |
X |
X |
|
Третья |
X |
X |
X |
- |
X |
X |
X |
- |
X |
X |
X |
- |
|
Четвертая |
- |
- |
X |
X |
- |
X |
X |
- |
- |
X |
X |
- |
|
Пятая |
- |
X |
X |
- |
- |
- |
X |
X |
- |
- |
X |
X |
Примечание: «X» — выключатель замкнут; «-» — выключатель разомкнут.
На корпусе рычага управления коробкой передач имеется разъем для присоединения либо жгута блока контроля (для работы в основном режиме), либо жгута соединительного (для работы в резервном режиме).
Из корпуса РУКП выходит жгут с колодкой, в которую установлено реле. Данное реле задействовано только в резервном режиме работы ЭПП.
Схема электрическая соединений РУКП приведена на Рисунке 330.






