При разборке заднего моста нужно обязательно проверять осевые перемещения в сборочных единицах колесной и главной передач, поскольку сборка должна обеспечивать обязательный предварительный натяг конических подшипников. После полной разборки детали передачи нужно промыть и проверить.
При осмотре деталей следует:
- проверить зубья и расположение пятна контакта на рабочих поверхностях зубьев конических зубчатых колес; при обнаружении недопустимого износа или повреждения (выкрашивание зубьев) заменить новыми. При неправильном зацеплении зубьев найти причину и устранить ее. В запасные части и на сборку ведущее и ведомое конические зубчатые колеса поставляются комплектом, подобранным по шуму и пятну контакта, поэтому в случае повреждения одного из них надо заменять оба колеса;
- проверить состояние поверхности шипов крестовин и втулок, сателлитов и
отверстий сателлитов межколесного дифференциала.
При незначительных повреждениях можно отполировать поверхности мелкозернистой шкуркой, а при серьезных повреждениях детали заменить новыми. Аналогичным образом следует проверять состояние поверхностей опорных шайб сателлитов, шеек и торцов колес дифференциала и их посадочных поверхностей в чашках дифференциала; - осмотреть все подшипники, они должны быть без износа, с гладкими рабочими поверхностями.
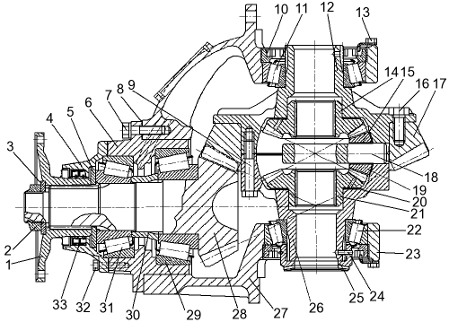
Для разборки колесной передачи (Рисунок 134 — Колесная передача и ступица колеса) необходимо снять со ступицы колеса с тормозным барабаном (см. раздел «Передняя ось, колеса и шины»).

Рисунок 134 —
Колесная передача и ступица колеса
1 — пробка маслосливного и контрольного
отверстий; 2, 12, 21, 24 — болты; 3 — штифт; 4 — гайка; 5, 8, 40 — шайбы; 6 —
солнечное зубчатое колесо; 7 — кольцо стопорное; 9 — пробка маслозаливного
отверстия; 10 — игольчатые подшипники; 11 — ось сателлита; 13 — крышка; 14 —
прокладки; 15 — кожух колесной передачи; 16 — коронное зубчатое колесо; 17 —
винт стопорный; 18 — ступица; 19 — колесный болт; 20, 38 — подшипники; 22 —
разрезная втулка; 23 — датчик скорости; 25 — фланец крепления суппорта; 26 —
картер заднего моста; 27 — полуось; 28 — суппорт тормозного барабана; 29 —
кронштейн крепления разжимного кулака; 30 — щиток тормозного механизма; 31 —
тормозной барабан; 32 — разжимнойкулак; 33 — ротор датчика; 34 — манжеты
уплотнительные; 35 — корпус манжет; 36 — винт крепления тормозного барабана; 37
— кольцо уплотнительное; 39 — ступица коронного колеса; 41 — гайка подшипников;
42 — втулка распорная; 43 — водило
Слить масло из картера колесной передачи, вывернув болты 12 крепления крышки 13 водила, снять крышку с прокладкой 14.
Ввернуть болт в торец полуоси 27 и извлечь из передачи полуось с солнечным колесом. Вывернуть фланцевые болты 2 крепления водила 43 и, вворачивая технологические болты M10×1,25 (2 шт.), выпрессовать водило из ступицы колеса.
Проверить техническое состояние осей сателлитов. Запрессовку осей сателлитов нужно производить, сориентировав лыски по буртику водила.
При замене игольчатых подшипников 10 необходимо учесть, что в одну колесную передачу должны быть установлены подшипники из одной партии, т. е. с одинаковой маркировкой и с одинаковыми полями допусков.
Расстопорить и снять упорные гайки 41 крепления подшипников ступицы. Подать слегка вперед ступицу колеса и выпрессовать внутреннее кольцо наружного подшипника и коронное зубчатое колесо со ступицей.
Снять ступицу 18 колеса с кожуха полуоси, при этом снимается внутреннее кольцо внутреннего подшипника. Наружные кольца подшипников, манжета, направляющая пластина, маслосъемное кольцо, маслоуловитель, распорное кольцо следует демонтировать в случае их замены.
Сборку ступицы и колесной передачи нужно производить в обратной последовательности. Перед сборкой посадочные поверхности полуоси, ступицы зубьев колес смазать консистентной смазкой. После установки ступицы необходимо отрегулировать подшипники ступицы. Установить кожух 15 колесной передачи в сборе с сателлитами и гайкой 4 отрегулировать зазор между упорной шайбой и солнечным зубчатым колесом 6.
Для этого, вращая ступицу, затянуть регулировочную гайку до упора в солнечное зубчатое колесо так, чтобы имело место легкое подтормаживание. Затем отпустить гайку на 1/2 оборота. Установить стопорную пластину и крышку.
Болты 12 крепления крышки следует затянуть с моментом 35-49 Н.м (3,6-5,0 кгс.м), болты 2 крепления водила к ступице колеса — 90-100 Н.м (9-10 кгс.м).
Для разборки главной передачи (см. Рисунок 137 — Главная передача заднего моста) необходимо вывесить задний мост, закрепить его на подставках, слить масло из картеров главной и колесных передач, снять крышки с обеих сторон колесных передач.

Рисунок 137 —
Главная передача заднего моста
1 — фланец ведущего вала; 2 — гайка; 3, 5, 20
— шайбы опорные; 4 — крышка подшипников; 6 — стакан подшипников; 7, 9, 16, 32 —
болты; 8 — регулировочные прокладки; 10 — регулировочная гайка; 11, 22, 29, 31 —
подшипники; 12, 26 — чашки дифференциала; 13 — винты; 14, 21 — полуосевые
зубчатые колеса; 15 — бронзовая втулка; 17 — ведомое зубчатое колесо; 18 —
крестовина; 19 — сателлит; 23 — крышка картера; 24 — кольцо стопорное; 25 —
зубчатая муфта; 27 — картер главной передачи; 28 — ведущее зубчатое колесо; 30 —
втулка регулировочная; 33 — манжеты
Ослабить болт крепления рычага включения замка механизма блокировки дифференциала и повернуть приводной вал муфты настолько, чтобы муфта упиралась в бурт полуоси. Застопорить ступицу муфты, затягивая болт крепления рычага включения. Вынуть полуоси на 150 мм с обеих сторон колесных передач. Вывернув болты крепления картера главной передачи, вынуть его из картера моста.
Для разборки ведущего зубчатого колеса главной передачи нужно
расшплинтовать и отвернуть гайку 2 крепления фланца карданного вала и снять
фланец 1. Вывернуть болты 32 крепления крышки 4 стакана подшипников ведущего
конического зубчатого колеса 28, снять крышку с прокладкой. Вворачивая
технологические болты М12×1,25×50 (2 шт.), выпрессовать стакан 6 в сборе с
наружным
подшипником, регулировочной втулкой и наружной обоймой внутреннего
подшипника.
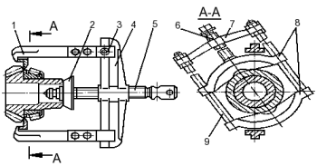
Вынуть узел ведущего конического зубчатого колеса из картера. Спрессовать съемником внутреннее кольцо конического роликового подшипника. Для снятия установить кромки клиньев 8 съемника (Рисунок 135 — Съемник внутренних колец подшипников ведущих зубчатых колес и чашек дифференциала моста) между внутренним кольцом подшипника и колесом и, ввернув винт 6 и траверсу 7, стянуть их.

Рисунок
135 — Съемник внутренних колец подшипников ведущих зубчатых колес и чашек
дифференциала моста
1 — захват; 2 — наконечник; 3, 5, 6 — винты; 4, 7 —
траверсы; 8 — клин; 9 — стойка
Завести захваты 1 за клинья 8 и зафиксировать их в этом положении винтом 3. Упирая наконечник 2 в торец колеса, и вворачивая винт 3 в траверсу 4, снять кольцо.
Для разборки дифференциала (см. Рисунок 137 — Главная передача заднего моста) нужно снять стопорное кольцо и зубчатую муфту 25 механизма блокировки дифференциала. Вывернуть винты 13, снять стопорные пластины и регулировочные резьбовые гайки 10. При необходимости замены спрессовать подшипники 11 и 22 с чашек 12 и 26 дифференциала.
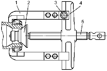
Для этого захваты 1 (см. рисунок съемника) завести за внутреннее кольцо подшипника и зафиксировать винтами 3.

Рисунок
136 — Снятие внутреннего кольца подшипника дифференциала
1 — захват; 2 —
наконечник; 3, 5 — винты; 4 — траверса
Упираясь наконечником 2 в торец дифференциала, ввертывать винт 5 в траверсу 4 до полного снятия внутреннего кольца подшипника.
Вывернув болты 9 (см. Рисунок 137 — Главная передача заднего моста) крепления чашек дифференциала, разъединить чашки. Вынуть чашку, собранную с ведомым коническим колесом 17, крестовину 18 с сателлитами 19, втулками и шайбами. Вынуть полуосевые зубчатые колеса 14 и 21 с шайбами.
Очистить снятые детали и проверить их техническое состояние. При повышенном износе или наличии следов заедания на поверхности втулок их следует заменить.
При замене чашек менять их нужно только комплектно (обе чашки должны иметь один номер комплекта). Поставить на место правое полуосевое зубчатое колесо с шайбой, крестовину, собранную с втулками, сателлитами и шайбами.
Вставить опорные шайбы в левую чашку дифференциала, собранную с ведомым зубчатым колесом, левое полуосевое колесо и установить узел в картер главной передачи, при этом болты крепления ведомого колеса должны быть затянуты с моментом 245-294 Н.м (25-30 кгс.м). Совместить чашки дифференциала по заводским меткам, установить стяжные болты 9 и затянуть их с моментом 69-78 Н.м (7-8 кгс.м). Напрессовать внутренние кольца подшипников 11 и 22 на чашки дифференциала, затем запрессовать наружные кольца в гнезда картера. Наружное кольцо подшипника со стороны ведомого колеса необходимо полностью запрессовывать после установки ведущего колеса.
При сборке картера главной передачи необходимо помнить, что крышки подшипников дифференциала не взаимозаменяемы, т. к. они обрабатываются в сборе с картером, поэтому каждую крышку нужно установить на то место, где она находилась.
Сборку и установку сборочной единицы ведущего конического колеса производить в порядке, обратном ее разборке. После установки дифференциала в картер главной передачи необходимо отрегулировать зацепление ведомого и ведущего зубчатых колес по боковому зазору, который должен быть (0,25-0,35) мм и пятну контакта.
Боковой зазор в зацеплении может быть определен одновременной регулировкой подшипников ведущего зубчатого колеса и дифференциала.
Регулирование главной передачи включает в себя регулировку предварительного натяга подшипников ведущего конического зубчатого колеса в сборе, дифференциала и регулирование бокового зазора и пятна контакта конической пары.
Для обеспечения предварительного натяга в конических подшипниках ведущего конического колеса в сборе при наличии осевого перемещения:
- Уменьшите высоту регулировочной втулки 30 шлифованием или заменой втулками из запасных частей на величину осевого перемещения плюс (0,04-0,06) мм.
- Затяните гайку 2 крепления фланца с моментом 590-690 Н.м (60-70 кгс.м).
- Проверьте силу проворачивания стакана подшипников, которая должна быть равна 10-24 Н (1,0-2,5 кгс). Замеряйте силу проворачивания при непрерывном вращении стакана в одну сторону не менее чем после пяти полных оборотов. Подшипники при этом должны быть смазаны, а крышка стакана подшипников должна быть сдвинута так, чтобы манжета не оказывала сопротивления вращению зубчатых колес.
Отрегулированную по предварительному натягу сборочную единицу ведущего зубчатого колеса установите в картер главной передачи. Установите дифференциал и затяните болты крепления крышек подшипников межколесного дифференциала с моментом 100-120 Н.м (10-12 кгс.м).
Отрегулируйте подшипники дифференциала регулировочными гайками, для этого равномерно с двух сторон затягивайте их до момента, при котором расстояние между крышками подшипников увеличится на (0,1-0,2) мм. Отрегулировав подшипники, затяните окончательно болты крепления крышек подшипников с моментом 380-460 Н.м (38-46 кгс.м) и законтрите их отгибанием стопорных пластин на одну из граней головок болтов. Соберите главную передачу моста. Герметичность всех фланцевых и резьбовых соединений, имеющих выход в масляные полости, обеспечьте герметиком УН-25.
Регулирование механизма блокировки межколесного дифференциала (см. рисунок — Механизм блокировки межколесного дифференциала) проводите в следующем порядке:
- снимите главную передачу;
- снимите крышку механизма блокировки;
- выньте поршень со стержнем;
- установите муфту блокировки в положение, при котором расстояние от плоскости А зубчатого венца муфты до оси отверстия (d = 338+0,215) мм в картере моста составляет 170 мм;
- замерьте размер Б от поверхности пальца вилки до опорной плоскости фланца картера;
- соберите поршень со стержнем в размер (Б+7) мм, законтрите гайкой и установите в картер моста, затяжку болтов крепления крышки и диафрагмы проводите равномерно, при этом усилие затяжки должно обеспечивать герметичность, без чрезмерного спрессования бортов диафрагмы;
- проверьте ход муфты блокировки при подаче воздуха на диафрагму, который должен составлять 14 мм.

Рисунок —
Механизм блокировки межколесного дифференциала
Отрегулируйте регулировочными гайками боковой зазор, которыйбыть в пределах (0,20-0,35) мм, и пятно контакта конической пары способами, приведенными в таблице 21 — Регулирование зацепления конических зубчатых колес.
Таблица 21 — Регулирование зацепления конических зубчатых колес
|
Положение пятна контакта |
Способ исправления |
Направления | |
|
передний |
задний |
→ | |
![]() |
Придвинуть ведомое зубчатое колесо к ведущему. |
| |
![]() |
Отодвинуть ведомое колесо от ведущего. |
![]() | |
![]() |
Придвинуть ведущее колесо к ведомому. |
![]() | |
|
Отодвинуть ведущее колесо от ведомого. |
| |













