Техническое обслуживание ГМП Diwa
Контроль уровня масла:
- перед контролем уровня масла ГМП
Diwa прогреть в рабочем режиме до температуры 60 °С
(минимум);
Примечание. Так как температура масла ГМП несколько выше температуры охлаждающей жидкости, то для оценки температуры масла ГМП можно воспользоваться имеющимися показаниями температуры охлаждающей жидкости. - установить транспортное средство на стояночный тормоз на горизонтальной площадке;
- нажать клавишу «N»;
- двигатель должен работать на холостом ходу;
- вынуть линейку для измерения уровня масла и очистить ее;
- снова вставить линейку на короткое время, чтобы показания уровня масла не стали неправильными из-за разбрызгивания масла;
- определить уровень масла, он должен быть между двумя метками. Разница количества масла между мин. и макс. — около 2,5 л.

Если масла мало — нарушаются функции ГМП (повреждение дисков).
Если масла много — высок расход масла (масло выбрасывается из воздушного фильтра), увеличиваются потери на трение.
Замена масла и масляного фильтра
При использовании минерального масла замену производить через 60 тыс. км пробега. При использовании синтетического масла через 120 тыс. км.
Порядок замены масла и масляного фильтра.
- Прогреть ГМП в рабочем режиме.
- Остановить двигатель.
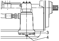
- Вывернуть сливную пробку (1) (11) в поддоне и слить
масло.
Предупреждение: Берегись ожога горячим маслом!
- Вывернуть сливную пробку (2) из гидротрансформатора и через сливное отверстие в поддоне слить масло.
- Завернуть пробки с новыми медными уплотнительными кольцами (момент затяжки пробки (2) 50 Н.м, пробки (1) (11) — 120 Н.м).
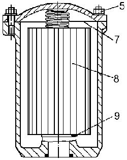
- Для ГМП DIWA.2:
- отвернуть гайки (5) и снять крышку (3);
- вывернуть пробку (4) из масляного фильтра и слить масло;
- завернуть пробку (4) с моментом 15 Н.м.

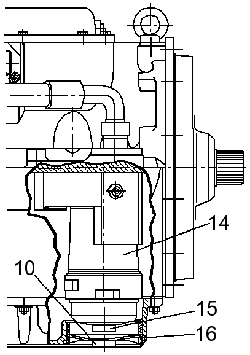
Для ГМП DIWA.3E:
- отвернуть крышку (10) из поддона;
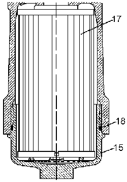
- отвернуть крышку (15) из масляного фильтра (14). - Заменить уплотнения (7, 9, 16, 18) и фильтроэлемент (8) (17).

Внимание! Если старый фильтроэлемент сильно загрязнен, отвернуть винты, снять поддон и проверить диски на отсутствие прижогов, трещин, выкрашиваний и короблений. - Для ГМП DIWA.2 — надеть крышку (3), завернуть гайки (5) (момент затяжки —
25 Н.м).
Для ГМП DIWA.3E — завернуть крышку (15) и (10) с моментом — 25 Н.м. - Заполнить гидропередачу маслом.
Сорта масла должны соответствовать перечню смазочных материалов (G1363) или (G607) фирмы VOITH. Также см. Приложение 4.
Количество масла: около (23 - 26) л. При первом заполнении — около (25 - 28) л. Количество масла в каждом случае проверять с помощью мерительной линейки! (см. раздел 3.1.1). - Проверить ГМП и масляный фильтр на герметичность.
Ремонт ГМП
Ремонт ГМП осуществляется на предприятии-изготовителе ГМП.






