Изделия электрофакельного устройства ремонту не подлежат; при обнаружении отказа изделия замените его.
Для проверки подачи топлива к свечам отсоедините топливопровод от свечи и прокачайте систему питания двигателя топливом ручным топливоподкачивающим насосом. Затем откройте электронагнетательный клапан, подав напряжение на штекер клапана со штекера провода подкапотной лампы. При этом из отсоединенного топливопровода должно появляться топливо.
Пропускную способность свечи определяйте на отечественных стендах СДТА-3 (КИ-22201) или NC-108-1318 фирмы «Motorpal» (Чехия) и других, позволяющих плавно регулировать давление топлива.
При избыточном давлении дизельного топлива 73,6 кПа (0,75 кгс/см2) и температуре 15-25 °С пропускная способность свечи должна быть 5,5-6,5 см3/мин. Замер производите после предварительного пролива свечи топливом в течение 20-30 с.
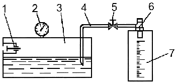
При отсутствии указанных стендов соберите установку по схеме на Рисунке 83 — Схема установки для проверки пропускной способности ЭФУ.

Рисунок 83 —
Схема установки для проверки пропускной способности ЭФУ
1 — клапан; 2 —
манометр 3 — ресивер; 4 — топливопровод; 5 — запорный вентиль; 6 — факельная
свеча; 7 — мерный цилиндр с ценой деления 0,1-0,2 см3
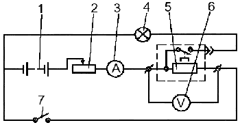
Для определения величины потребляемого тока свечи соберите схему (см. Рисунок 84 — Схема проверки потребляемого свечой тока), позволяющую иметь выходное напряжение постоянного тока 19 В.

Рисунок 84 —
Схема проверки потребляемого свечой тока
1 — источник питания; 2 — реостат; 3
— амперметр; 4 — вольтметр; 5 — свеча; 6 — выключатель
Напряжение поддерживайте реостатом 2. При таком напряжении потребляемый ток через минуту после включения свечи должен быть 11-11,8 А.
Для проверки параметров термореле соберите схему, указанную на Рисунке 85 — Схема проверки термореле.

Рисунок 85 —
Схема проверки термореле
1 — источник питания; 2 — реостат; 3 — амперметр; 4
— лампа контрольная; 5 — термореле; 6 — вольтметр; 7 — выключатель
Термореле установите на горизонтальную поверхность защитным экраном вверх. Номинальную величину тока 22,8 А, проходящего через реле, устанавливайте и поддерживайте реостатом 2.
Время до замыкания контактов и удержания их в замкнутом состоянии определяйте по загоранию контрольной лампы 4. Для этого один провод контрольной лампы соедините со штекером термореле, а второй — с источником постоянного тока (аккумуляторной батареей).
Время с момента включения тока до замыкания контактов термореле (загорание контрольной лампы) при температуре окружающего воздуха 15-25 °С должно быть 55-65 с, а время удержания контактов (свечения контрольной лампы) после отключения — не менее 45 с.
Герметичность электромагнитного клапана проверяйте подачей сжатого воздуха под давлением 147 кПа (1,5 кгс/см2) к входному каналу клапана. При погружении клапана в воду не должны выделяться пузырьки воздуха.






