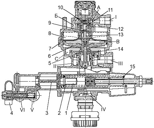
Регулятор тормозных сил (см. рисунок) предназначен для автоматического регулирования давления сжатого воздуха, подводимого при торможении к тормозным камерам передней оси и заднего моста в зависимости от давления в баллонах пневматической подвески автобуса.
Автоматический регулятор тормозных сил установлен на кронштейне, закрепленном на поперечине каркаса основания шасси автобуса Нефаз. Выводы V и VI соединяются с пневмобаллонами левой и правой стороны автобуса. Давление воздуха от пневмобаллонов воздействует на поршень 3 регулятора. В зависимости от давления воздуха, которое соответствует состоянию загрузки автобуса, направляющая втулка 2 с копиром смещается и под действием пружины 15 настраивается в положение регулировки, сооветствующее состоянию загрузки автобуса. При срабатывании пневматической тормозной системы сжатый воздух от тормозного крана через вывод I попадает в полость А, воздействует на поршень 12, заставляя его перемещаться вниз. При этом впускной клапан 11 прижимается к выпускному отверстию толкателя 13.
При дальнейшем перемещении поршня клапан отрывается от седла в поршне и сжатый воздух попадает в полость В под диафрагмой 7, нагружая активную поверхность поршня 6. Одновременно сжатый воздух открывает клапан 10 и по каналу Б поступает в полость под диафрагмой 7. Благодаря данному предварительному давлению воздуха осуществляется повышение передаточного числа при небольшом управляющем давлении. Под действием давления в полости В поршень 6 перемещается вниз, закрывая выпускное отверстие 14, а впускной клапан 5 открывается. Сжатый воздух от ресивера через вывод III попадает в тормозные камеры. Одновременно в полости С создается давление, воздействующее на поршень 6 снизу. Как только давление, действующее на поршень снизу становится больше давления, действующего на поршень сверху, поршень приподнимается и клапан 5 закрывается. Таким образом осуществляется следящее действие регулятора.
Диафрагма 7 при перемещении поршня 12 вниз прилегает к вставке 8, увеличивая, таким образом, активную площадь диафрагмы. Как только сила, действующая в полости В на нижнюю сторону диафрагмы, становится равной силе, действующей на поршень 12 сверху, поршень поднимается вверх, впускной клапан 11 закрывается, создавая положение равновесия. Положение толкателя 13 определяется положением направляющей втулки 2 с копиром, положение которой определяется величиной управляющего давления воздуха, поступающего от пневмобаллонов подвески.
При растормаживании давление в выводе I уменьшается, клапан 5 и поршень 6 перемещаются вверх под действием давления в выводе III. Выпускные отверстия 9 и 14 открываются, и воздух из тормозных камер выходит в атмосферу через вывод IV. При падении давления в одном из пневмобаллонов подвески регулятор автоматически обеспечивает подачу давления, равную половине давления неисправного контура.
Если падает давление в обоих пневмобаллонах подвески, то пружина 1 отводит направляющую втулку 2 в крайнее положение, обеспечивая в этом случае давление воздуха на выходе, равное половине рабочего давления при полностью загруженном автобусе. Контрольный вывод 4 обеспечивает проверку регулятора тормозных сил на автобусе.

Рисунок 172 — Регулятор тормозных сил
1, 15 — пружины; 2 —
направляющая втулка с копиром; 3, 6, 12 — поршни; 4 — контрольный вывод; 5, 11 —
клапаны впускные; 7 — диафрагма; 8 — вставка; 9, 14 — выпускное отверстие; 10 —
клапан; 13 — толкатель; А, В — полости; Б — канал; I — от тормозного крана; II —
от ресивера; III — к тормозным камерам; IV — атмосферный вывод; V, VI — от
пневмобаллонов подвески






