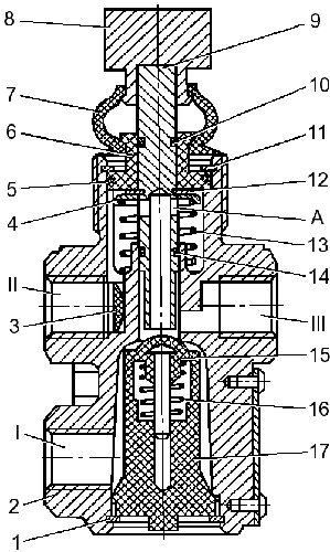
Пневматический кран (см. рисунок) с кнопочным управлением служит для подачи сжатого воздуха в пневмоцилиндры вспомогательной тормозной системы.
В атмосферном выводе II пневмокрана установлен фильтр 3, предотвращающий проникновение в кран грязи и пыли. Сжатый воздух в кран поступает через ввод I.
При нажатии кнопки 8 толкатель 9 перемещается вниз и своим выпускным седлом давит на клапан 15, разобщая вывод III с атмосферным выводом II. Затем толкатель 9 отжимает клапан 15 от впускного седла корпуса, открывая тем самым проход сжатому воздуху через ввод I к выводу III и далее в магистраль к исполнительным пневматическим механизмам.
При отпускании кнопки 8 толкатель 9 под действием пружины 13 возвращается в верхнее положение. При этом клапан 15 закрывает отверстие в корпусе 2, прекращая дальнейшее поступление сжатого воздуха к выводу III, а седло толкателя 9 отрывается от клапана 15, сообщая вывод III с атмосферным выводом II. Сжатый воздух из вывода III через отверстие А в толкателе 9 выходит в атмосферный вывод II.

Рисунок 179 — Пневматический кран
1, 11, 12 — упорные кольца; 2 —
корпус; 3 — фильтр; 4 — тарелка пружины штока; 5, 10, 14 — уплотнительные
кольца; 6 — втулка; 7 — защитный чехол; 8 — кнопка; 9 — толкатель; 13 — пружина
толкателя; 15 — клапан; 16 — пружина клапана; 17 — направляющая клапана; I —
ввод от ресивера; II — вывод атмосферный; III — вывод к
пневмоцилиндрам






