Пневмоцилиндры (см. рисунки) предназначены для приведения в действие механизмов вспомогательной тормозной системы. На шасси установлены три пневмоцилиндра: два цилиндра диаметром 35 мм и ходом поршня 65 мм для управления дроссельными заслонками, расположенными в приемных трубах глушителя, и один цилиндр диаметром 30 мм и ходом поршня 25 мм для управления рычагом останова двигателя.
Пневмоцилиндр (35×65) мм привода заслонки механизма вспомогательной тормозной системы шарнирно закреплен на кронштейне пальцем. Шток цилиндра резьбовой вилкой соединен с рычагом управления заслонкой.
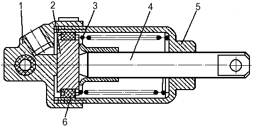
При включении вспомогательной тормозной системы сжатый воздух от пневмокрана через ввод в крышке 1 (см. рисунок) поступает в полость под поршнем 2.
Поршень 2, преодолевая силу возвратных пружин 3 и 8, перемещается и воздействует через шток 4 на рычаг управления заслонкой вспомогательной тормозной системы, переводя заслонку из положения Открыто в положение Закрыто. При выпуске сжатого воздуха поршень 2 со штоком 4 под действием пружин 3 и 8 возвращается в исходное положение. При этом заслонка поворачивается в положение Открыто.

Рисунок 185 — Пневмоцилиндр привода заслонки механизма вспомогательной
тормозной системы
1, 6 — крышки цилиндра; 2 — поршень; 3, 8 — возвратные
пружины; 4 — шток; 5 — корпус; 7 — уплотнитель; 9 — манжета
Пневмоцилиндр (30×25) мм шарнирно установлен на крышке регулятора ТНВД. Шток цилиндра резьбовой вилкой соединен с рычагом останова двигателя. При включении вспомогательной тормозной системы сжатый воздух от пневмокрана через ввод в крышке 1 (см. рисунок) цилиндра поступает в полость под поршнем 2.
Поршень 2, преодолевая силу возвратной пружины 3, перемещается и воздействует через шток 4 на рычаг регулятора топливного насоса, переводя его в положение нулевой подачи.
Система тросового привода педали подачи топлива связана со штоком цилиндра так, что при включении вспомогательной тормозной системы педаль не перемещается. При выпуске сжатого воздуха поршень 2 со штоком 4 под действием пружины 3 возвращается в исходное положение.

Рисунок 186 — Пневмоцилиндр привода рычага останова двигателя
1 —
крышка цилиндра; 2 — поршень; 3 — возвратная пружина;4 — шток; 5 — корпус; 6 —
манжета






