Передняя ось (см. Рисунок 144 — Ось передняя в сборе) состоит из цельнокованой балки 13 двутаврового сечения, имеющей площадки для крепления подвески; шкворневого узла с коническим шкворнем 7, упорным роликовым подшипником 23 и бронзовыми втулками.

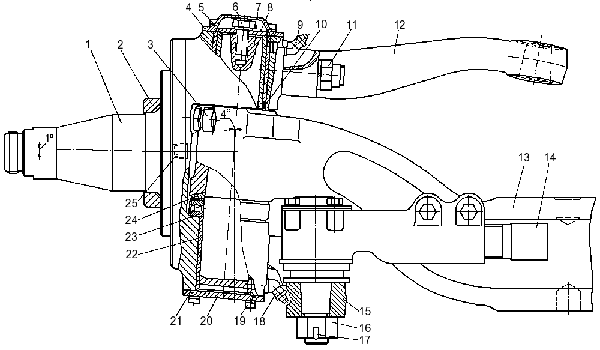
Рисунок 144 —
Ось передняя в сборе
1 — поворотный кулак; 2 — кольцо манжеты; 3, 5, 6, 19 —
болты; 4, 20 — крышки; 7 — шкворень; 8 — шайба; 9, 18 — масленки; 10 — манжета;
11, 16 — гайки; 12 — рычаг тяги сошки; 13 — балка передней оси; 14 — тяга
рулевой трапеции; 15 — рычаг поворотного кулака; 17 — шплинт; 21 —
уплотнительное кольцо; 22 — втулка распорная; 23 — подшипник роликовый упорный;
24 — шайба шкворня; 25 — транспортная пробка
Для смазки шкворневого узла в каждой проушине поворотного кулака 1 установлены пресс-масленки 9 и 18.
Поперечный угол наклона шкворня, а также угол развала колес обеспечиваются конструкцией балки и кулака и в процессе эксплуатации не регулируются. Нарушение их может быть вызвано деформацией или износом деталей.
Схождение колес устанавливается регулированием длины поперечной рулевой тяги, которая имеет наконечники с правой и левой резьбой.
Описание конструкции шарниров, продольных и поперечной рулевых тяг приведены в разделе «Рулевое управление».






