Способ работы насоса
При поворачивании приводного вала и с ним соединенного ротора нажимаются радиально подвижные лопасти, направляющиеся в прорезях их центробежной силой, а масло на дорожку для направления кольца. Две лопасти с последовательностью одна за другой образуют одну камеру (всего 10) и ограничены по боковой стороне нажимными дисками. Каждая камера питает два раза за один поворот максимально эффективный объем камеры. Всасывающие и нажимные камеры устанавливаются так, что гидравлические радиальные усилия, действующие на ротор, аннулируются.
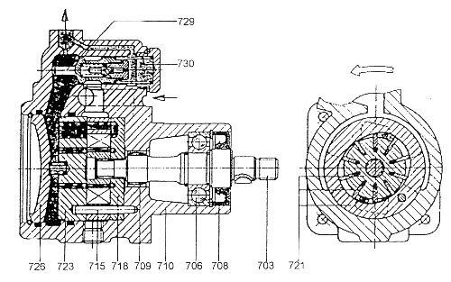
В торцовом диске на стороне крышки (723) и торцовом диске на приводной стороне (718) установлены 4 канавки и масло под давлением подается к торцовой поверхности лопасти насоса, и таким способом масло распыляется от центробежного усилия.
С увеличением числа оборотов, т. е. с увеличением расхода питания насоса, увеличивается падение давления за заслонкой на стороне клапанного поршня с пружиной. Как только гидроусилие преодолеет усилие пружины, поршень движется к пружине и излишнее масло протекает через свободное отверстие во всасывающий канал насоса. Таким образом, гидроусилитель руля во всех диапазонах вращения насоса питается почти постоянным расходом масла. В поршне по ограничению расхода установлен шариковый клапан нагнетания пружиной, регулирующий максимальное давление в насосе.
Обслуживание насоса. Гидравлическим маслом в то же время проводится смазывание насоса. Важным является в одинаковых интервалах контролировать уровень масла в резервуаре. Рекомендуется контроль через каждые 5000 км пробега, т. е. по инструкциям изготовителя автомобиля.
Возможность всасывания воздуха внутри кругового потока масла, как и наличие наименьших пузырьков воздуха в масле после его выпуска, являются причинами контроля уровня масла в рабочем состоянии насоса. Всосанный воздух сжат обратным потоком, и после выключения насоса расширяется вследствие нормального давления воздуха. По этой причине после выключения насоса уровень масла в резервуаре повышается на приблизительно (1 - 2) см. До включения насоса рекомендуется контроль уровня масла в резервуаре и по потребности дополнение маслом до около 2 см над верхним обозначением на измерителе в нерабочем состоянии насоса. После этого надо включить насос (двигатель), наблюдать за уровнем масла, при необходимости — долить. Если уровень масла понижается значительно, тогда нужно из гидравлического устройства выпустить воздух. Чтобы не произошло всасывание воздуха при ремонтных работах, следует проконтролировать герметичность привода и затянуть все резьбовые соединения и трубопроводы высокого давления.
При ремонте насоса или ГУРа необходимо заменить патрон фильтра в резервуаре масла следующим образом. Слить масло из ГУРа, отпустить барашковую гайку и снять крышку резервуара. Снять прокладку с корпуса винта и вытянуть крышку фильтра вместе с нагнетательной пружиной, заменить патрон.
Для бесперебойной работы насоса необходимо применять соответствующие гидравлические масла, которые одновременно являются смазкой. Поэтому для комплектного устройства необходимо только одно масло.

Рисунок 310 — Лопастной насос
703 — приводной вал; 704 — шпонка; 705,
707 — упорные кольца; 706 — шариковый подшипник; 709 — игольчатый подшипник; 710
— корпус; 711, 732 — резьбовые винты; 713 — винт с полукруглой головкой; 714 —
табличка с обозначением типа; 715 — штифт; 716, 717, 722, 725 — О-кольца; 718 —
торцовая плита на приводной стороне; 721 — ротор-комплект; 722.1 — опорное
кольцо; 723 — торцовая плита к крышке; 724, 730 — пружины; 725.1 — кольцо; 726 —
крышка; 727 — пружинный предохранитель; 728 — глушитель; 729 — поршень
клапана-комплект; 730 — пружина; 731 — уплотнительное
кольцо






