Механизм переключения передач (см. рисунок) размещен в крышке коробки передач.

Рисунок 116 — Механизм переключения передач
1 — заглушка; 2 — верхняя
крышка коробки передач; 3 — вилка переключения четвертой и пятой передач; 4 —
установочный винт; 5 — шплинтовочная проволока; 6 — вилка переключения второй и
третьей передач; 7 — вилка переключения первой передачи и заднего хода
Каретки синхронизаторов и муфта включения первой передачи и передачи заднего хода перемещается рычагом, установленным в кабине, через дистанционный привод, штоки и вилки. Вилки закреплены установочными винтами на штоках, перемещающихся в отверстиях верхней крышки.
Механизм переключения передач состоит из трех штоков, трех вилок 3, 6 и 7 переключения, двух головок штоков, трех фиксаторов с шариками 5 (Рисунок 117 — Замок и фиксаторы механизма переключения передач), предохранителя (Рисунок 119 — Установка предохранителя механизма переключения передач) включения первой передачи и передачи заднего хода и замка штоков.

Рисунок 117 — Замок и фиксаторы механизма переключения передач
1 —
шарик замка; 2 — стакан стопорного шарика; 3 — пружина стопорного шарика; 4 —
штифт замка; 5 — стопорный шарик фиксатора

Рисунок 119 — Установка предохранителя механизма переключения
передач
1 — стакан пружины; 2 — пружина предохранителя; 3 — предохранитель; 4
— толкатель предохранителя
Замок штоков имеет две пары шариков 1 и штифт 4. Шарики расположены между штоками во втулках, штифт — в отверстии среднего штока между шариками. Диаметры шариков и расстояние между штоками выбраны так, что при перемещении любого штока из нейтрального положения шарики выходят из лунок перемещаемого штока и входят в лунки неподвижных штоков, блокируя их на корпус.Сверху на крышке механизма переключения передач установлена опора рычага переключения передач. С правой стороны опоры ввернут установочный винт, который фиксирует рычаг в нейтральном положении. В рабочем положении болт должен быть вывернут.
Привод управления механизмом переключения передач
Привод управления механизмом переключения передач — механический, дистанционный, тросовый/
На автобусные шасси, укомплектованные коробками передач моделей КАМАЗ, возможна установка приводов:
- электропневматического привода мод. ЭПП.12 управления коробкой передач (взамен тросового). Руководство по монтажу и эксплуатации привода мод. ЭПП.12, разработанное его поставщиком ООО «КОРА», прикладывается к шасси;
- электропневматической системы управления коробкой передач (ЭПСУ) — разработка ОАО «КАМАЗ».
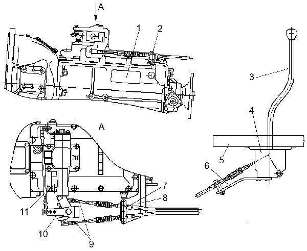
Силовой трос 9 (Рисунок 120 — Привод управления механизмом коробки передач), передающий усилие от механизма управления для включения передачи, представляет собой витой многожильный трос в гибкой металлической оболочке из пружинной стали с шаровыми опорами на концах.

Рисунок 120 — Привод управления механизмом коробки передач
1 — коробка
передач; 2 — колодка крепления тросов; 3 — рычаг; 4 — опора рычага переключения
передач; 5 — основание пола кабины; 6, 8 — кронштейны крепления тросов; 7 —
планка колодки; 9 — тросы управления коробкой передач; 10 — транслятор; 11 —
реактивная тяга
Для обеспечения работоспособности и долговечности тросовый привод защищен резиновыми уплотнениями и герметичными гофрированными чехлами.
Монтаж и демонтаж тросов. Подсоединить шаровой наконечник троса к опоре и транслятору, а затем закрепить тросы в колодках крепления тросов на рычаге переключения передач. Снятие тросов производится в обратном порядке. Несоблюдение порядка монтажа — демонтажа тросов приводит к разрушению сферического шарнира и потере работоспособности троса. Следует помнить, что усилие, прикладываемое к концу штока свыше 20 Н (2 кгс), и увеличение полуконуса вращения более 8° приводит к разрушению шарнира и выходу троса из строя. Радиус изгиба троса должен быть не более 250 мм.
Во время эксплуатации тросового привода необходимо исключить касание тросов об узлы автобуса.
Внимание. Установка тросового привода управления КП и ТНВД с механическим повреждением элементов привода или с неисправными коробкой передач или сцеплением запрещается. Во время сборочно-монтажных работ на двигателе, при открытом смотровом люке над коробкой передач, нельзя наступать на телескопическую часть троса во избежание поломки телескопов и разрыва гофрированного резинового чехла.






