Колеса автобусного шасси — размерностью 8,25×22,5, стальные, с профилированным ободом (или из алюминиевого сплава), дисковые, с десятью крепежными отверстиями (см. Рисунок 146 — Установка переднего колеса и Рисунок 145 — Установка сдвоенных колес).

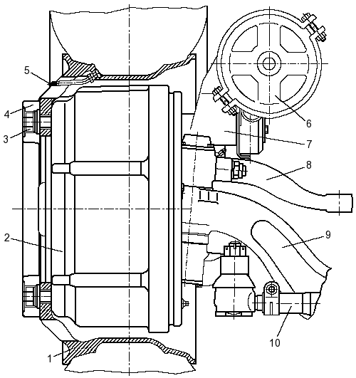
Рисунок 145 —
Установка сдвоенных колес
1 — задний мост; 2 — кронштейн; 3 — удлинители
вентиля; 4 — гайка крепления колес к ступице; 5 — колесо с шиной; 6 — ступица с
тормозным барабаном

Рисунок 146 —
Установка переднего колеса
1 — колесо с шиной; 2 — ступица с тормозным
барабаном; 3 — гайка крепления колеса; 4 — декоративный колпак; 5 — вентиль; 6 —
тормозная камера; 7 — тормозной механизм; 8 — рычаг тяги сошки; 9 — балка
передней оси; 10 — рулевая тяга
Герметичность соединения вентиля с ободом обеспечивается установкой уплотнительного кольца в вентильный паз обода под корпус вентиля. Сдвоенные колеса имеют удлинители 3 вентиля для каждого колеса (см. Рисунок 145 — Установка сдвоенных колес).
Шины размерностью 11/70R22,5 или 275/70R22,5 — бескамерные, низкопрофильные. Передние колеса шасси односкатные, задние — сдвоенные (см. «Техническую характеристику колес и шин», приведена в таблице).
|
Краткая техническая характеристика колес и шин | |||
|
Размер обода колеса, дюймы |
8,25×22,5 | ||
|
Размер шины |
11/70R22,5 * |
275/70R22,5 ** | |
|
Модель шины |
Д-1М, И-305 |
- | |
|
Максимальная скорость автобуса, км/ч |
70 |
90 |
90 |
|
Максимальная нагрузка на шину, кН (кгс): | |||
|
- одинарную (передней оси) |
31,49 (3210) |
29,40 (3000) |
30,87 (3150) |
|
- сдвоенные (заднего моста) |
28,59 (2915) |
27,44 (2800) |
28,42 (2900) |
|
Давление в шинах, кПа (кгс/см2), автобуса полной массы: | |||
|
- одинарных (передней оси) |
872 ± 20 |
850 ± 20 | |
|
- сдвоенных (заднего моста) |
872 ± 20 |
780 ± 20 | |
|
Момент затяжки гаек крепления колеса, Н.м (кгс.м) |
540-670 (54-67) | ||
|
Максимальный угол поворота внутреннего колеса (относительно центра поворота) |
45° ± 30` | ||
|
Развал колес |
1° | ||
|
Схождение колес (по торцам буртиков тормозных барабанов), мм |
1-2,7 | ||
|
Продольный наклон шкворней относительно каркаса основания шасси |
2°30` | ||
|
Поперечный наклон шкворней |
4° | ||
|
Примечания: | |||
Размещение запасного колеса на шасси — технологическое, в горизонтальном положении с правой стороны под каркасом основания автобусного шасси (без механизма подъема и опускания колеса).
На автобусе запасное колесо находится в специальном отсеке с правой стороны.
Уход за шинами заключается в проверке технического состояния шин внешним осмотром, начиная с левого переднего колеса, по часовой стрелке; удалении застрявших в протекторе, боковинах и между сдвоенными колесами камней, гвоздей и других посторонних предметов.
При обнаружении на шинах топлива, масла и других нефтепродуктов шины необходимо протереть досуха.
При эксплуатации вентиля нужно не допускать попадание на золотник вентиля веществ, вызывающих коррозию золотников и разрушение его уплотнительных элементов, а также эксплуатацию вентиля без колпачка или колпачка-ключика. Установку золотника нужно производить колпачком-ключиком усилием руки.
Давление воздуха в шинах колес надо проверять манометром. Давление воздуха в шинах должно соответствовать значениям, указанным в технической характеристике.
Для накачивания шин надо использовать шланг из комплекта запасных инструментов и принадлежностей (ЗИП). При навинчивании штуцера шланга для накачивания шин клапан отбора воздуха утапливается, открывая доступ сжатому воздуху в шланг.
При эксплуатации вентиля нужно не допускать попадание на золотник вентиля веществ, вызывающих коррозию золотников и разрушение его уплотнительных элементов, а также эксплуатацию вентиля без колпачка или колпачка-ключика. Установку золотника нужно производить колпачком-ключиком усилием руки.
Снятие колеса со ступицы следует осуществлять при надежно заторможенном шасси (автобусе) и при полностью выпущенном воздухе из шины.
Для снятия колес передней оси и заднего моста нужно вывесить колесо домкратом, отвернуть десять гаек крепления диска колеса к ступице, снять колесо. Установка колес производится в обратной последовательности.
Перед демонтажом шин следует сделать пометки на шине и ободе колеса для сохранения балансировки после сборки. Перед установкой дисковых колес на ступицу необходимо очистить посадочные поверхности на ступице и колесе. Смазать смазкой посадочный диаметр на ступице, резьбу на болтах крепления колес, капнуть каплю масла между гайкой и опорной шайбой.
Гайки крепления дискового колеса должны быть затянуты с моментом, указанным в технической характеристике, равномерно, в два-три приема в диагональной последовательности. После первых (100-150) км пробега нужно проверить крепление колес и при необходимости подтянуть детали крепления.
Монтаж и демонтаж шин на предприятии должен осуществляться на специально отведенном участке, оснащенном необходимым оборудованием, приспособлениями и инструментами.
При демонтаже и монтаже шин в пути надо пользоваться специальными монтажными лопатками из комплекта инструментов и принадлежностей.
Запрещается:
- монтировать шины на обод, не соответствующий по размеру данной шине;
- использовать шины, на бортах которых есть задиры и повреждения, препятствующие монтажу;
- во время и после накачивания шины наносить удары по бортовым закраинам обода, диску колеса и шине.
Для монтажа бескамерной шины на обод колеса необходимо:
- установить вентиль на обод колеса;
- установить шину в горизонтальное положение;
- нижнюю закраину обода колеса, расположенного диском вверх, полностью ввести в полость шины (Рисунок 147 — Порядок монтажа - демонтажа колеса и шины, а);
- перевернуть колесо с шиной и, удерживая верхний борт шины на уровне монтажного ручья обода, плоскими концами сначала одной, затем обеих монтажных лопаток, полностью завести его за бортовую закраину обода (см. Рисунок 147 — Порядок монтажа - демонтажа колеса и шины, б);
- накачать шину воздухом до рабочего давления;
- проверить герметичность посадки шины на ободе.

Рисунок 147 —
Порядок монтажа - демонтажа колеса и шины
Для демонтажа нужно:
- полностью выпустить воздух из шины;
- установить колесо в сборе с шиной в горизонтальное положение диском вверх;
- вильчатым и плоским прямыми концами монтажных лопаток полностью снять борт шины с конической посадочной полки обода (см. Рисунок 147 — Порядок монтажа - демонтажа колеса и шины, в);
- перевернув колесо с шиной диском вниз, аналогичным приемом снять второй борт шины с полки обода;
- осадить борт шины до уровня монтажного ручья. Одновременно с диаметрально противоположной стороны ввести между ободом колеса и бортом шины изогнутые плоские концы монтажных лопаток, вывести борт за торец обода в данном месте и далее, передвигаясь по окружности колеса, утопить торец обода во внутрь шины (см. Рисунок 147 — Порядок монтажа - демонтажа колеса и шины, г);
- перевернуть колесо с шиной диском вверх;
- изогнутым и прямым концами монтажных лопаток закрепиться за нижнюю закраину обода и вывести ее из полости шины, при этом борт шины с противоположной стороны должен находиться в монтажном ручье обода (см. Рисунок 147 — Порядок монтажа - демонтажа колеса и шины, д);
- удерживая вильчатым концом одной из монтажных лопаток обод в положении, указанном на Рисунке 147 — Порядок монтажа - демонтажа колеса и шины, е, изогнутым плоским концом второй лопатки, вводимым последовательно по кругу между бортом шины и закраиной обода, извлечь обод из шины;
- при необходимости снять вентиль с обода.
Для облегчения монтажа и демонтажа, а также для избежания повреждения герметичного слоя шины, борт шины и бортовая закраина обода должны протираться ветошью, смоченной в мыльной или обычной воде.
Перед монтажом проверить техническое состояние колеса и шины: колесо не должно иметь ржавчины, грязи, задиров металла, особенно на конусных поверхностях, соприкасающихся с шиной; шина должна быть без повреждения бортов, глубоких порезов, пробоин на боковинах или беговой дорожке. Шиномонтажные работы должны выполняться исправным инструментом.
При ремонте и замене колес и шин не следует допускать комплектования автобуса шинами с различным рисунком протектора.






