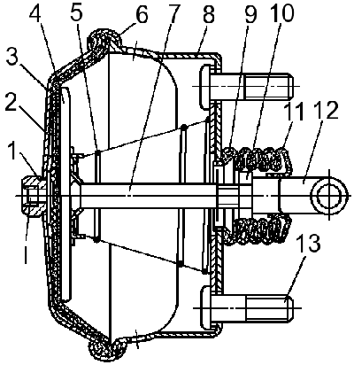
Тормозная камера типа 24
Тормозная камера типа 24 (см. рисунок) предназначена для преобразования энергии сжатого воздуха в работу по приведению в действие тормозных механизмов передних колес шасси.
Полость над мембраной через резьбовой штуцер 1 в крышке 2 соединена с подводящей магистралью рабочей тормозной системы. Мембрана 3 зажата между корпусом 8 камеры и крышкой 2 стяжным хомутом 6, состоящим из двух полуколец. Полость под мембраной соединена с окружающей средой через дренажные отверстия, выполненные в корпусе 8 камеры. Камера прикреплена к кронштейну двумя болтами 13, приваренными к фланцу, который вставлен в корпус 8 камеры изнутри и прижат к дышлу корпуса возвратной пружиной 5. Цифра 24 в обозначении типа камеры указывает активную площадь мембраны камеры в квадратных дюймах при нормальном ходе штока тормозной камеры.
При торможении, т. е. при подаче сжатого воздуха через ввод I, мембрана 3 прогибается, воздействует на диск 4 и перемещает шток 7, который поворачивает регулировочный рычаг тормозного механизма вместе с разжимным кулаком. Кулак прижимает колодки к тормозному барабану с силой, пропорциональной давлению поданного в тормозную камеру сжатого воздуха.
При растормаживании, т. е. при выпуске воздуха из камеры, под действием пружины 5 диск со штоком и мембраной возвращаются в исходное положение. Регулировочный рычаг с кулаком и колодками под действием стяжных пружин тормозного механизма возвращается в расторможенное положение.

Рисунок 183 — Тормозная камера типа 24
1 — штуцер; 2 — крышка корпуса;
3 — мембрана; 4 — опорный диск; 5 — возвратная пружина; 6 — хомут; 7 — шток; 8 —
корпус камеры; 9 — кольцо; 10 — контргайка; 11 — защитный чехол; 12 — вилка; 13
— болт; I — ввод
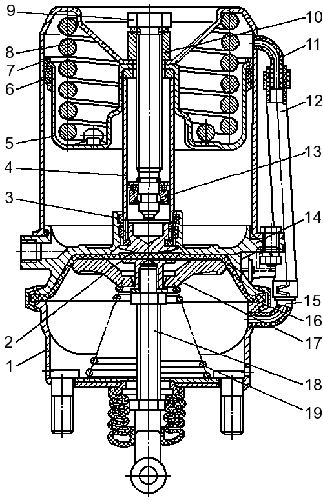
Тормозная камера типа 30/24
Тормозная камера типа 30/24 с пружинным энергоаккумулятором (см. рисунок) предназначена для приведения в действие тормозных механизмов колес заднего моста при включении рабочей и стояночной тормозных систем.
Пружинные энергоаккумуляторы вместе с тормозными камерами установлены на кронштейне тормозных камер тормозных механизмов заднего моста. Шток 18 тормозной камеры связан с регулировочным рычагом тормозного механизма. Дренажная трубка 12 служит для исключения вакуума над поршнем 5 при перемещении его вниз и противодавления при ходе вверх. При торможении рабочей тормозной системой сжатый воздух направляется в полость над мембраной 16. Мембрана воздействует на шток 18 тормозной камеры, который выдвигается и приводит в действие тормозной механизм колеса. При выпуске воздуха шток и мембрана возвращаются в исходное положение возвратной пружиной 19.
При включении стояночной тормозной системы сжатый воздух выпускается из полости под поршнем 5. Поршень под действием силовой пружины 8 движется вниз и перемещает толкатель 4, который через подпятник 2 воздействует на мембрану 16 и шток тормозной камеры. Автобус затормаживается.
При выключении стояночной тормозной системы воздух подается в цилиндр энергоаккумулятора под поршень 5. Поршень, поднимаясь, сжимает силовую пружину. Одновременно с поршнем перемещается толкатель и освобождает мембрану и шток тормозной камеры, которые под действием возвратной пружины поднимаются вверх. При торможении запасной тормозной системой воздух частично выпускается из цилиндров энергоаккумуляторов. Количество воздуха, выпускаемого из цилиндров, зависит от положения рукоятки тормозного крана.

Рисунок 184 — Тормозная камера типа 30/24 с пружинным
энергоаккумулятором
1 — корпус тормозной камеры; 2 — подпятник; 3 —
уплотнительное кольцо; 4 — толкатель; 5 — поршень; 6 — уплотнения поршня; 7 —
цилиндр энергоаккумулятора; 8 — силовая пружина; 9 — винт механизма аварийного
растормаживания; 10 — упорная гайка; 11 — патрубок цилиндра; 12 — дренажная
трубка; 13 — упорный подшипник; 14 — фланец; 15 — патрубок; 16 — мембрана; 17 —
опорный диск; 18 — шток; 19 — возвратная пружина






