Составные части и способ работы
На крышке корпуса (40) установлены два клапана (55), в которых скользят поршни (Рисунок 306). Оба винтовых поршня соединяются торцовыми кулачками сегментного вала (30). При повороте сегментного вала клапаны остаются в закрытом положении, пока торцовые кулачки сегментного вала не соприкоснутся с одним клапанным поршнем, пока не поднимет его и откроет (Рисунок 307).

Рисунок 306 —
Оба клапана крайнего конечного положения закрыты

Рисунок 307 —
Левый клапан крайнего конечного положения открыт, давление масла
понижено
Клапаны отверстиями соединены с обратной магистралью. Масло под давлением подается из левого цилиндра через отверстие в крышке корпуса к левому клапану, пока масло из правого цилиндра через отверстие в корпусе подается к правому клапану.
При поворачивании вала по часовой стрелке (см. Рисунок 308, ход поршня вправо), левый клапанный поршень включается после определенного перемещения рычага управления, которое можно изменить путем заворачивания или отворачивания клапана. Таким способом через седло клапана масло под давлением подается из левого цилиндра в обратную магистраль. При этом положение клапана управления не меняется. Правый клапан ограничения управления за это время остается закрытым. Если сегментный вал поворачивается против часовой стрелки, тогда открывается правый клапан по предварительно определенному пути, и тогда масло попадает из правого цилиндра в обратную магистраль.
В случаях, когда клапан ограничения управления в открытом положении, гидроусилитель руля можно дальше поворачивать до крайнего конечного положения колес, т. е. до крайнего конечного положения гидроусилителя руля, только воздействием повышенного усилия и при сильно уменьшенном гидравлическом усилии.
Регулировка гидравлического ограничителя гидроусилителя руля
Первая регулировка крайнего конечного положения гидроусилителя руля проводится на пробном стенде на заводе-производителе согласно инструкциям - чертежам производителя автомобилей.
Последующая регулировка проводится на автомобиле после установки гидроусилителя руля. Данную регулировку можно проводить путем манометра или чисто механическим способом.
Регулировка на пробном стенде
Изготовитель гидроусилителей руля проводит регулировку крайнего конечного положения с требуемым отклонением сошки, согласно данным производителя автомобиля. Однако, для выполнения данной регулировки без обязанностей последующей коррекции гидроусилителя руля при установке на автомобиль, надо учесть все возможные отклонения, находящиеся в перечне отклонений, и которые могут быть в передаточном механизме гидроусилителя руля, в деталях механизма гидроусилителя и деталях самого автомобиля. Расстояние, существующее в таких случаях при гидравлическом ограничении управления между частями ограничителя колеса, должно быть уточнено на соответствующую величину. ППТ в таких случаях утвердил отклонение до 6° на сошке. При такой регулировке до достижения крайнего конечного положения колеса необходимо подействовать от руки для преодоления соответствующего пути. Регулировки, описанные в пп. 2 и 3, соответствующий путь значительно сокращают.
Регулировка на автомобиле с помощью манометра
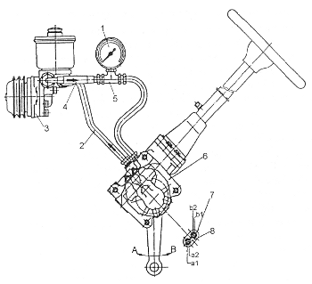
На нагнетательном шланге между насосом и гидроусилителем руля установить манометр (предел давления до 250 бар, см. Рисунок 308) и поднять вверх ось управления (домкрат установить из-под оси, а если на автомобиле нет жесткой оси, тогда управляемые колеса должны стоять на поворачивающихся плитах для выполнения регулировки гидравлического ограничения).

Рисунок 308 —
Регулировка с помощью манометра
1 — манометр; 2 — обратная масляная
магистраль; 3 — насос; 4 — нагнетательная магистраль, 5 — подключение «Т»; 6 —
гидроусилитель руля; 7 — винт для регулировки «b» гидравлического ограничения
для отклонения сошки по направлению «В»; 8 — винт для регулировки «а»
гидравлического ограничения для отклонения сошки по направлению «А»
Во всяком случае, ось управления должна быть под нагрузкой для сравнения возможных ошибок, которые могут возникнуть при прогибке в момент измерения. Пока двигатель работает, повернуть гидроусилитель руля до крайнего конечного положения колеса без применения больших усилий. За это время другой механик должен держать регулировочный щуп толщиной (2 - 3) мм между частями ограничителя колеса для обеспечения дополнительного запаса. Толщина регулировочного щупа зависит от жесткости механизма управления, и поэтому допущены случаи применения более толстых щупов для некоторых автомобилей. С достижением ограничения, дальше поворачиваем рулевое колесо (5 секунд, не более), преодолевая этим реактивное усилие клапана управления, все до получения плотного налегания ограничителя. Для этого нужно развить усилие на рулевом колесе от 100 - 209 Н (10 - 20 кгс) в зависимости от возвратного действия гидравлического усилия. В таком положении манометр должен показывать давление масла между 30 и 85 бар. Регулировку можно скорректировать путем ослабления контргайки (а1, т. е. b1), пока соответствующая втулка клапана (а2 или b2) заворачивается или отворачивается. При таких операциях рулевое колесо не держать в руках, чтобы во время такой работы образовалось проточное давление масла. Потом затянуть контргайку (а1, т. е. b1) моментом затяжки 25 - 35 Н.м (2,5 - 3,5 кгс.м). Регулировка второго ограничителя колеса проводится таким же способом. Клапан (а2) и гайка (а1) на Рисунке 309 должны перемещаться, когда рычаг управления, Рисунок 308, движется в направлении А. Соответственно этому, перемещаются клапан (b2) и гайка (b1), когда рычаг управления движется в направлении В.

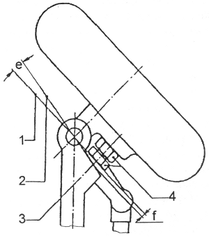
Рисунок 309 —
Контроль крайнего конечного положения колеса
1 — положение болта крайнего
конечного положения; 2 — ограничитель колеса на оси; 3 — ограничитель колеса «е»
(регулировка на автомобиле без манометра); 4 — регулировочный винт
На следующих рисунках показана схема краткого исполнения ППТ гидроусилителя руля с шариками, с регулировкой гидравлического ограничения в крышке секции и с подключенным лопастным насосом и движением поршня в правую сторону.
После выполнения регулировки гидравлическое усилие действует до момента достижения ограничения на колесах. Проверка регулировки проводится путем нормальной загрузки автомобиля, и при медленном движении его делается разворот, пока гидравлическое усилие не выключится.
В таком положении между частями ограничителя колеса должно стоять дополнительное расстояние 1 - 3 мм. Данная проверка дает возможность уточнения толщины измерительного щупа, который прокладывается.
Если давление, при развороте сошки по направлению А или В, рано или поздно упадет, тогда втулки клапана (а2 и b2) надо завернуть, согласно описанному ниже порядку.
Если замеряемое давление превышает 35 бар, соответствующий клапан для ограничения управления (55) надо дальше заворачивать по часовой стрелке. Если давление ниже 30 бар, соответствующий клапан (55) дальше надо отворачивать (против часовой стрелки). На Рисунке 309 величиной «f» показано расстояние, которое должно стоять между частями ограничителя колеса, при гидравлическом ограничении управления и оно составляет 2 мм. Данный метод контроля применяется, прежде всего, при серийной установке. Однако, до проведения серийной регулировки, для каждого типа автомобиля, необходимо согласовать толщину регулировочного щупа. Регулировочные щупы устанавливаются между ограничителями колеса. При регулировке на монтажной линии и для согласования толщины их надо учесть следующие отклонения:
- кинематические ошибки, которые возникают на гидроусилителе руля при прогибе;
- сильную затяжку, которая появляется на деталях механизма гидроусилителя руля при управлении нормально нагруженным автомобилем при более медленном движении;
- зазор между частями ограничителя колеса при воздействии гидравлического ограничения управления.
Кроме того, для каждого типа автомобиля надо один раз выполнить замер поворота рулевого колеса по ободу. Поворот рулевого колеса по ободу получается следующим способом: руль поворачивается без применения усилия и без повышения давления пока колеса не достигнут крайнего конечного положения, а затем поворачивается дальше с применением повышенного усилия на рулевое колесо и с повышенным давлением масла до получения давления 40-50 бар. Для проведения серийных регулировок поворот рулевого колеса контролируется по обозначениям на рулевом колесе.
Регулировка ограничения управления на линии осуществляется следующим порядком
Автомобиль поднять вверх, установить регулировочные щупы на ограничитель колеса и повернуть рулевое колесо до крайнего конечного положения колеса. Из этого положения рулевое колесо дальше поворачивается с применением больших усилий, чтобы проехал указанную линию на рулевом колесе, поворачивая при этом беспрерывно рулевое колесо туда - сюда на (2 - 3) см. Второй механик медленно заворачивает клапан по часовой стрелке, пока давление не упадет. Это сразу чувствуется, потому что рулевое колесо сразу можно поворачивать дальше, но с применением значительно повышенного усилия. В таком положении клапан застрахован контргайкой и гайкой, затянутой моментом затяжки 25 - 35 Н.м (2,5 - 3,5 кгс.м).
Регулировка второго ограничителя колеса проводится точно так же. Втулка клапана «а2» и контргайка «а1» (на Рисунке 308) должны быть отрегулированы, когда сошка движется по направлению «А». Втулка клапана «b2» и контргайка «b1» регулируются, когда сошка движется по пути «В».
Контроль. Автомобиль под нормальной нагрузкой во время движения легко поворачивать пока гидравлическое усилие не выключится. Между частями ограничителя колеса должен стоять зазор 2 - 3 мм, отвечающий развороту руля на 20 - 30 град.
Регулировка гидроусилителя руля, установленного на автомобиле
- Снятие зазора на гидроусилителе руля осуществляется в пределах
прямолинейного движения в следующем порядке:
а) ось управления поднять вверх;
б) рулевое колесо установить в среднее положение, которое получается разделением общего числа оборотов рулевого колеса на половину;
в) отвернуть гайку (50) на крышке корпуса;
г) рулевое колесо повернуть до одного крайнего конечного положения и замерить нужный момент трения для поворачивания рулевого колеса за пределами прямолинейного движения (на 1/2 поворота до достижения крайнего конечного положения). Для поворачивания рулевого колеса использовать прибор для замера крутящего момента, который устанавливается на гайку рулевого колеса;
д) потом замерить момент трения в среднем положении (точка наибольшего усилия). С применением прибора для замера крутящего момента разворачивать рулевое колесо в левую и правую стороны за 1/2 числа оборотов от положения прямолинейного движения, а регулировочный винт (31) затягивать до получения увеличения крутящего момента от 40 - 50 Н.м (4 - 5 кгс.м) по сравнению с замеренной величиной указанной и т. д.;
е) гайку (50) затянуть моментом затяжки 90 Н.м (9 кгс.м), крепко придерживая регулировочный винт. Установленный крутящий момент еще раз проверить. Крутящий момент, превышающий установленный (50 Н.м) в пределах прямолинейного движения, не улучшает характеристики управления и условия передаточного механизма. Тем не менее вызывает появление высокого давления, и в связи с этим ненужный износ. - Регулировка крайнего конечного положения гидроусилителя
руля.






