Проверить герметичность системы питания двигателя воздухом
Проверить герметичность системы питания двигателя воздухом осуществляется в следующей последовательности.
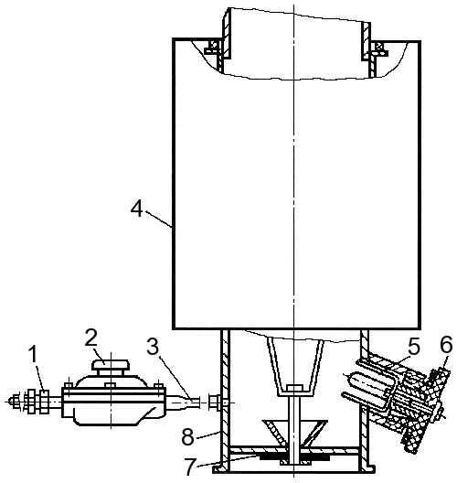
Установить корпус 8 заглушки (см. Рисунок 86 — Приспособление для проверки герметичности впускного тракта) в корпус 4 воздухоочистителя и закрепить гайкой, используя плоскую шайбу с паронитовой или резиновой прокладкой 7.

Рисунок 86 —
Приспособление для проверки герметичности впускного тракта
1 — переходник; 2
— регулятор; 3 — соединительный патрубок; 4 — корпус воздухоочистителя; 5 —
скоба горловины; 6 — крышка; 7 — резиновая прокладка; 8 — корпус
заглушки
Разместить дымообразующий материал, например, промасленную ветошь, в скобе 5 горловины и зажечь. С началом интенсивного дымообразования вставить скобу в горловину и плотно закрыть крышкой 6. Заполнить систему воздухом. Источником сжатого воздуха могут служить ручной шинный насос, пневмосистема автобуса или промышленная сеть сжатого воздуха под давлением, не превышающим 0,8 МПа (8 кгс/см2). Сжатый воздух из ресивера автобуса или промышленной сети подводится через регулятор 2 давления, который автоматически понижает давление до 0,01-0,02 МПа (0,1-0,2 кгс/см2), и соединительный патрубок 3.
При отборе сжатого воздуха от ресиверов автобуса Нефаз можно использовать шланг для накачивания шин (5320-3929010), который подсоединяют к регулятору давления через переходник 1. Места неплотностей определять по выходящему дыму. Если дым не выходит в течение 3 мин, то впускной тракт герметичен.
Внимание. При отсутствии манометра герметичность впускного тракта проверять очень осторожно. Во избежание срыва и раздутия шлангов и разрушения воздухопроводов давление подаваемого в тракт воздуха не должно превышать 20 кПа (0,2 кгс/см2).
Для устранения неисправностей следует выполнить следующее:
- надежно затянуть хомуты в соединениях трубок тракта, в том числе на патрубке забора воздуха к компрессору. Допускается при установке резиновых патрубков, прокладок и шлангов использовать герметизирующие составы типа уплотнительной пасты, белил и т. п.;
- заменить резиновые шланги, патрубки и прокладки с трещинами и разрывами;
- устранить негерметичность трубок по сварным швам пайкой твердым припоем (медь, латунь и т. п.);
- устранить некруглость посадочных поверхностей под резиновые шланги и патрубки на штампованных трубках — правкой, на литых патрубках — зачисткой;
- после устранения неплотностей провести контрольную проверку герметичности тракта.






